EasyManua.ls Logo

Hisense I6421CB - TECHNICAL SPECIFICATIONS

Hisense I6421CB
48 pages
Print Icon
To Next Page IconTo Next Page
To Next Page IconTo Next Page
To Previous Page IconTo Previous Page
To Previous Page IconTo Previous Page
Loading...
8
785435
TECHNICAL SPECIFICATIONS
(DEPENDING ON THE MODEL)
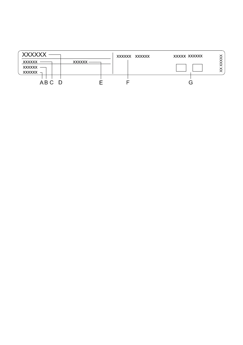
The rating plate with basic information
on the appliance is located on the bottom
side of the cooking hob.
Information on appliance type and model
can be found on the warranty sheet.
A Serial number
B Code/ID
C Type
D Brand
E Model
F Technical data
G Compliance symbols