EasyManua.ls Logo

Hitachi HDC-761E - Page 34

Hitachi HDC-761E
53 pages
Print Icon
To Next Page IconTo Next Page
To Next Page IconTo Next Page
To Previous Page IconTo Previous Page
To Previous Page IconTo Previous Page
Loading...
EN-33
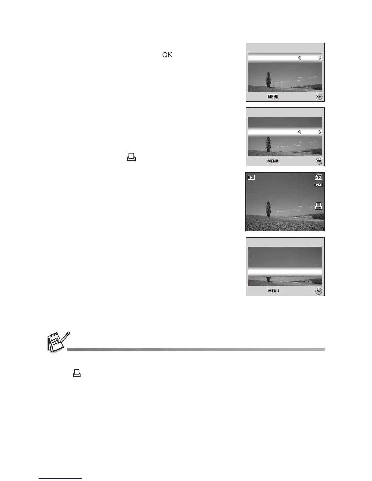
4. Use the four-way controller (ST) to select by
your preference, then press the button.
[Quantity]: Allows you to select image
quantity (0~10). Use the
four-way controller (WX) to set
the image quantity.
[Date]: The date of recording can be
printed directly on the images.
Select [With] or [Without] with
the four-way controller (WX).
5. Press the MENU button to return to the image
playback mode.
The print icon is marked on the
displayed image.
To cancel the DPOF settings for a single
image, go back to step 3 to select [One
Image] and select 0 in [Quantity] in the next
step. For resetting all the DPOF settings, go
back to step 3 to select [Reset All].
Before you perform the DPOF settings on your camera, always remember to copy your images
from the internal memory to an SD memory card first.
The
print icon will appear on the LCD monitor screen indicating images selected for
printing.
You cannot print movies.
Depending on the printer or printing equipment at the photo processing lab., the date may not
be imprinted on the pictures even if the DPOF settings are made.
100-0001
100-0001
100-0001
With
With
1
1
One Im
One Image
One Image
Select :
Select :
Select :Cancel :
Cancel :
Cancel :
Quantity
Quantity
Quantity
Date
Date With
One Im
One Image
One Image
0
0
Select :
Select :
Select :Cancel :
Cancel :
Cancel :
Quantity
Quantity
Quantity
Date
Date With
With
With
R
eset Al
eset All
Reset All
DPOF
DPOF
Select :
Select :
Select :Cancel :
Cancel :
Cancel :
One Im
One Image
One Image
All Im
All Ima
ge
ges
DPOF
All Images

Table of Contents