EasyManua.ls Logo

Hitachi HIDIC MICRO-EH - Terminal Layout and Wiring

Hitachi HIDIC MICRO-EH
319 pages
Print Icon
To Next Page IconTo Next Page
To Next Page IconTo Next Page
To Previous Page IconTo Previous Page
To Previous Page IconTo Previous Page
Loading...
Chapter 4 Product lineup and wiring
4-7
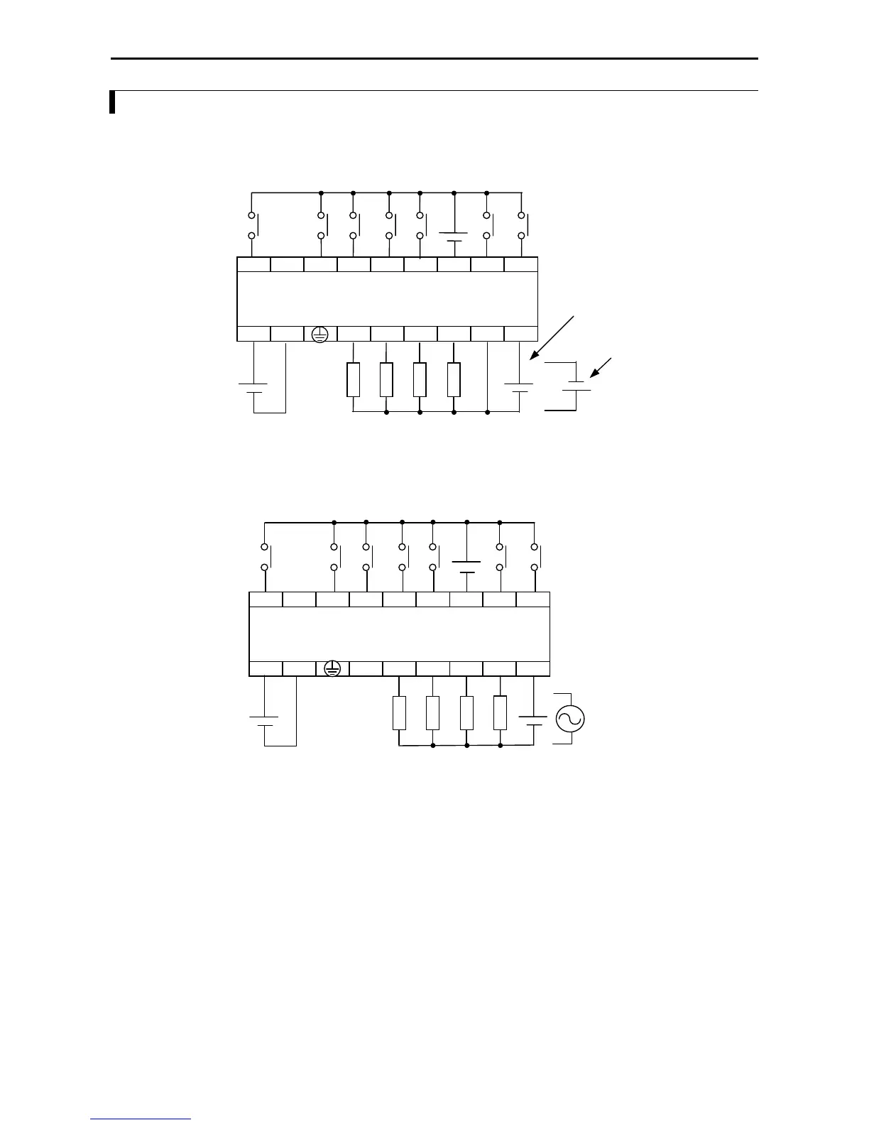
4.6 Terminal Layout and Wiring
10-point type
EH-D10DT, EH-D10DTP
* Since the DC input is bidirectional, it is possible to reverse the polarity of the power supply.
EH-D10DR
* Since the DC input is bidirectional, it is possible to reverse the polarity of the power supply.
54C032RUN 10NC
V0C032124 V 00 V
Load power supply
12/24V DC
Power supply
24V DC
Input power supply
24 V DC
Power supply
24V DC
Load power supply
24V DC
100-240V AC
Input power supply
24V DC
In case of EH-D10DTP
In case of EH-D10DT
54C032RUN 10NC
C0321024V NC0V

Table of Contents

Related product manuals