EasyManua.ls Logo

Hitachi HIDIC MICRO-EH - Page 41

Hitachi HIDIC MICRO-EH
319 pages
Print Icon
To Next Page IconTo Next Page
To Next Page IconTo Next Page
To Previous Page IconTo Previous Page
To Previous Page IconTo Previous Page
Loading...
Chapter 4 Product lineup and wiring
4-9
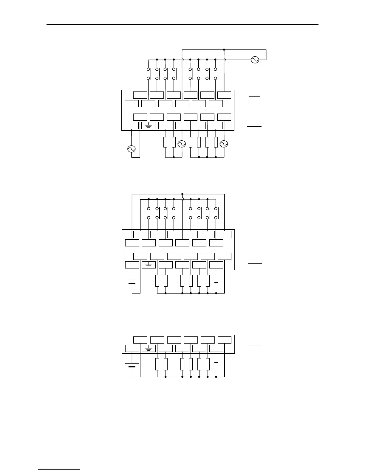
EH-A14AS
EH-D14DTP
* Since the DC input is bidirectional, it is possible to reverse the polarity of the power supply.
EH-D14DT
(The input wiring is the same as EH-D14DTP.)
Load power supply
100-240V AC
Power supply for input
100-115V AC
Power supply
100-240V AC
0
24+
0V 2
1
C0
3
5
4
7
6 C1
AC
AC 0
NC
C0
1
3
2
5
4 C1
Input
Output
Load power supply
12/24V DC
Power supply for input
24V DC
Power supply
24V DC
00V 2
1
C0
3
5
4
7
6 C1
0V
24V 1
0
2
NC
4
3
V0
5 C0
24+
Input
Output
Load power supply
12/24V DC
Power supply
24V DC
0V
24V 1
0
2
NC
4
3
V0
5 C0
Output

Table of Contents

Related product manuals