EasyManua.ls Logo

Honeywell V4043A - Page 15

Honeywell V4043A
20 pages
To Next Page IconTo Next Page
To Next Page IconTo Next Page
To Previous Page IconTo Previous Page
To Previous Page IconTo Previous Page
Loading...
V4043A,B,E,J; V4044A,B; V8043A,B,E,F,J; V8044A,B,E MOTORIZED VALVES
15 60-2133—10
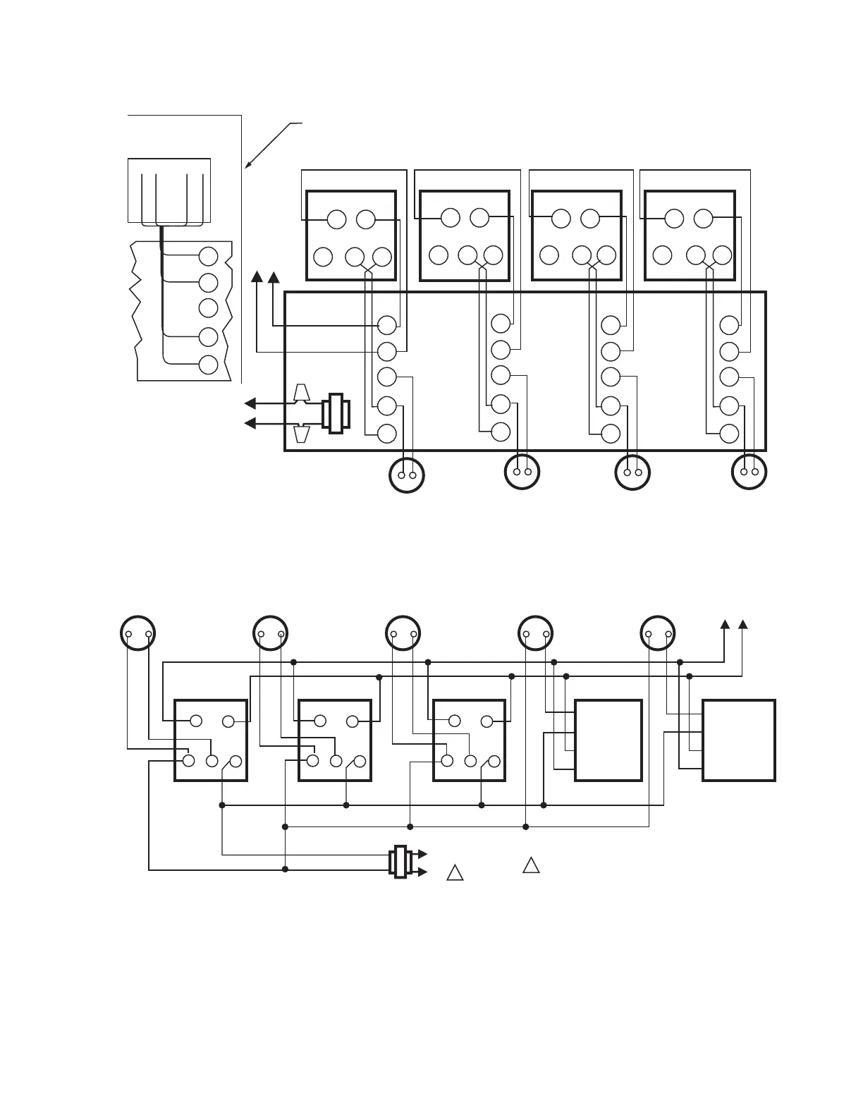
Fig. 21. Typical 4-zone system. Use an additional W775A to power up to 4 more zone valves.
Fig. 22. Typical 5-zone system. Use an AT87A transformer to power up to 5 more zone valves.
M5980
ZONE 1
ZONE 2
ZONE 3
ZONE 4
END SWITCH
V8043F
TH-TR TH
TR
END SWITCH
V8043F
TH-TR TH
TR
END SWITCH
V8043F
TH-TR TH
TR
END SWITCH
V8043F
TH-TR TH
TR
ZONE 1
ZONE 2
ZONE 3
ZONE 4
T87F
INTEGRAL
TRANSFORMER
TO
CIRCULATOR
CONTROL
CIRCUIT
W775A PANEL
B
R
B
W
BR
B
R
B
W
BR
B
R
B
W
BR
B
R
B
W
BR
T87F
L1
(HOT)
L2
POWER
SUPPLY
B
R
B
W
BR
RED
RED
YELLOW
ZONE V8043E
YELLOW
W775A PANEL
RED
YELLOW
RED
YELLOW
T87F
T87F
CONNECTIONS FOR V8043E
(LEADWIRE MODEL)
ZONE 1
T87F
ZONE 2
ZONE 3
ZONE 4
ZONE 5
V8043F
END SWITCH
TH-TR
TH
TR
V8043F
END SWITCH
TH-TR
TH
TR
V8043F
END SWITCH
TH-TR
TH
TR
V8043E V8043E
T87F T87F T87F T87F
M10164
YELLOW
RED
YELLOW
RED
YELLOW
RED
YELLOW
RED
L1
(HOT)
L2
1
1
POWER SUPPLY. PROVIDE DISCONNECT MEANS AND
OVERLOAD PROTECTION AS REQUIRED.
TO BURNER
AND / OR
CIRCULATOR
CIRCUIT
AT87A
TRANSFORMER
NOTE: IF CODE PERMITS, V8043E AND V8043F CAN BE USED INTERCHANGEABLY WHEN WIRED AS SHOWN.

Related product manuals