EasyManua.ls Logo

Honeywell W7212

Honeywell W7212
36 pages
To Next Page IconTo Next Page
To Next Page IconTo Next Page
To Previous Page IconTo Previous Page
To Previous Page IconTo Previous Page
Loading...
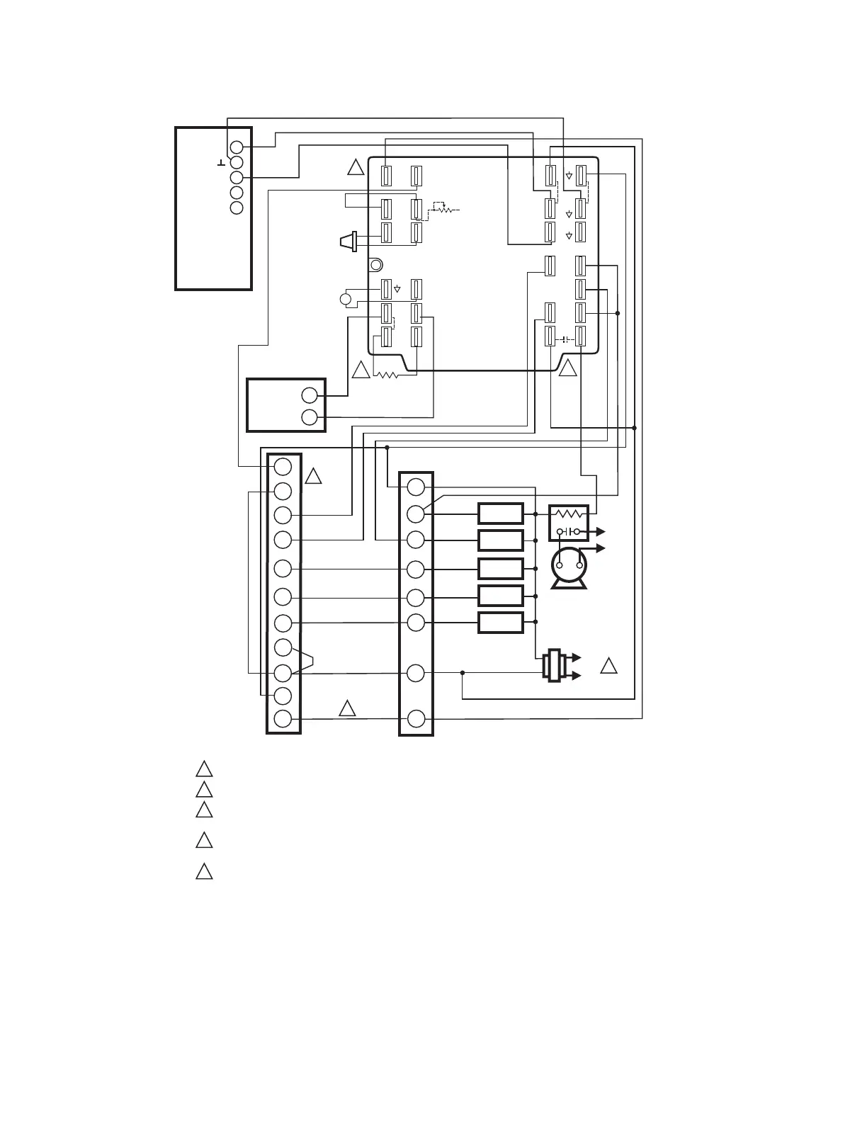
SOLID STATE ECONOMIZER SYSTEM
63-2484—03 30
Fig. 37. W7213, W7214 controlling heat pump system.
POWER SUPPLY. PROVIDE DISCONNECT MEANS AND OVERLOAD PROTECTION AS REQUIRED.
EF AND EF1 ARE DRY CONTACTS IN THE LOGIC MODULE.
FACTORY INSTALLED 620 OHM, 1 WATT, 5% RESISTOR SHOULD BE REMOVED ONLY WHEN A
C7400 ENTHALPY SENSOR IS ADDED TO SR AND SR+ FOR DIFFERENTIAL ENTHALPY.
T7300 TERMINALS A2 AND A3 ARE CONNECTED WHEN THERMOSTAT IS IN THE UNOCCUPIED MODE.
SEE WIRING DIAGRAMS FOR T7350 AND TB7220/TB8220.
W7213: B TERMINAL
W7214: O TERMINAL
M24222
1
2
3
4
5
4
5
5
L1
(HOT)
L2
FAN
HEAT 1
HEAT 2
COOL 1
COOL 2
HVAC EQUIPMENT
TERMINAL STRIP
T7300
THERMOSTAT
1
C
G
W1
Y1
Y2
R
W2
RC
G
X
O O
W1
RH
Y1
Y2
A3
A2
W2
S
+
C7400
OUTDOOR
AIR
ENTHALPY
SENSOR
O
P1
T1
SR
SO
AQ
EF1
5
EF
3
4
2 1
TR
MINIMUM POSITION
ADJUSTMENT
P
T
N
AQ1
SO+
SR+
TR1
24 Vac
COM
24
Vac
HOT
+
3
2
620 OHM
RESISTOR
W7214
C7150B
DISCHARGE
AIR SENSOR
+
0/2-10 VDC
INDOOR AIR
SENSOR
EXHAUST
FAN
L1
(HOT)
L2
F
1
2
3
4
5
+
~
MS7XXX
HONEYWELL
ACTUATOR

Other manuals for Honeywell W7212

Related product manuals