EasyManua.ls Logo

Hoover HF7150MUK - Hoover Washing Machine Model Identification

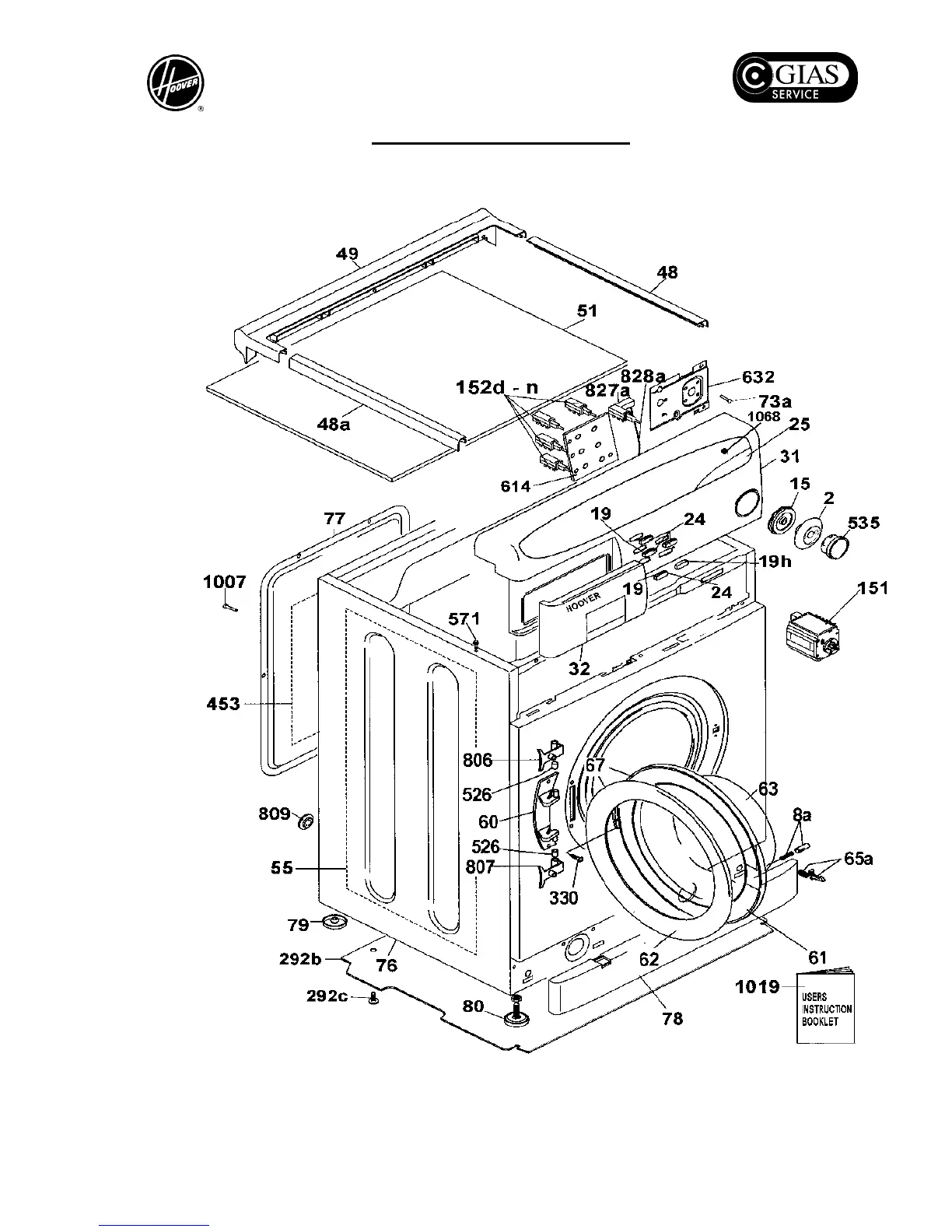
Hoover HF7150MUK
17 pages
Print Icon
To Next Page IconTo Next Page
To Next Page IconTo Next Page
To Previous Page IconTo Previous Page
To Previous Page IconTo Previous Page
Loading...
2003 Range Washing Machines
© 2003 GIAS U.K. / Hoover Ltd. PAGE 6
HF7130M ,HF7150M UK