EasyManua.ls Logo

HP 8562E - Page 181

HP 8562E
482 pages
Print Icon
To Next Page IconTo Next Page
To Next Page IconTo Next Page
To Previous Page IconTo Previous Page
To Previous Page IconTo Previous Page
Loading...
Procedure 16. A21 OCXO
Removal
1. Remove the rear frame assembly as described in “Procedure 13. Rear Frame/Rear Dress
Panel Removal,”
steps 1 through 20.
2. Place the spectrum analyzer on its right side frame.
3. Fold out the Al4 and Al5 assemblies as described in “Procedure 9. Al4 and Al5
Assemblies Removal,” steps 3 and 4.
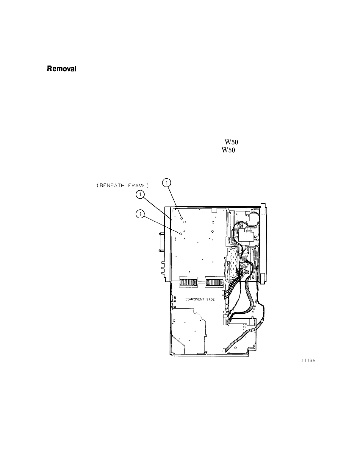
4. Remove the three screws (1) securing the OCXO to the main deck. See Figure 4-28.
5. Disconnect W49, coax 82, from the OCXO and disconnect W50 (orange cable) from the
Al5 RF assembly. Clip the tie wraps that hold W49 and W50 together and remove the
OCXO from the spectrum analyzer (with the orange cable connected).
sl16e
Figure 4-28. A21 OCXO Mounting Screws
4-56 Assembly Replacement

Table of Contents

Related product manuals