EasyManua.ls Logo

HP 9g - Page 66

HP 9g
87 pages
Print Icon
To Next Page IconTo Next Page
To Next Page IconTo Next Page
To Previous Page IconTo Previous Page
To Previous Page IconTo Previous Page
Loading...
E-66
[ ] 58 [ ]
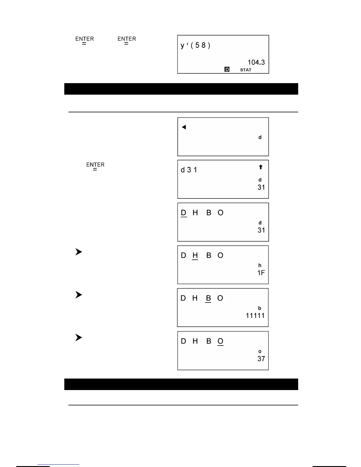
Example 49
31
10
= 1F
16
= 11111
2
= 37
8
[ MODE ] 2
31 [ ]
[ dhbo ]
[ ]
[ ]
[ ]
Example 50
4777
10
= 1001010101001
2

Table of Contents