EasyManua.ls Logo

HP SN8000B - Page 9

HP SN8000B
13 pages
Print Icon
To Next Page IconTo Next Page
To Next Page IconTo Next Page
To Previous Page IconTo Previous Page
To Previous Page IconTo Previous Page
Loading...
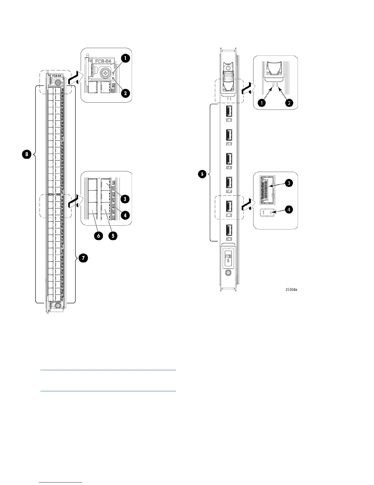
FC8-64 components
Figure 14 FC8-64
2. Power LED1. Status LED
4. Port status LED3. FC Port
6. FC Port5. FC Port
8. FC ports 0–317. FC ports 32–63
NOTE: FC8-64 supports mini-SFPs (mSFPs)
only.
FC10-6 components
Figure 15 FC10-6
2. Status LED1. Power LED
4. Port status LED3. FC port
5. FC ports 0–5
Page 9

Related product manuals