EasyManua.ls Logo

HTC 650 HDX - Page 45

HTC 650 HDX
48 pages
Print Icon
To Next Page IconTo Next Page
To Next Page IconTo Next Page
To Previous Page IconTo Previous Page
To Previous Page IconTo Previous Page
Loading...
HTC 650 HDX
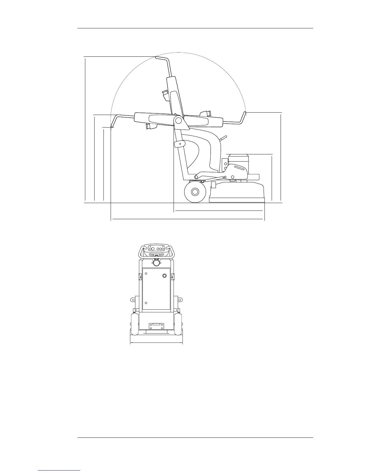
Technical Data
1.0 37
1050
762
1215
1260
2120
1220
2015
Figure 8-1 Height and length of the machine in millimetres
710
Figure 8-2 Width of the machine in millimetres

Other manuals for HTC 650 HDX

Related product manuals