EasyManua.ls Logo

Hussmann IMPACT D5L - Light Circuits

Hussmann IMPACT D5L
6 pages
Print Icon
To Previous Page IconTo Previous Page
To Previous Page IconTo Previous Page
Loading...
6 of 6 D5L Data Sheet Set
HUSSMANN CORPORATION, Bridgeton, MO 63044-2483 U.S.A.
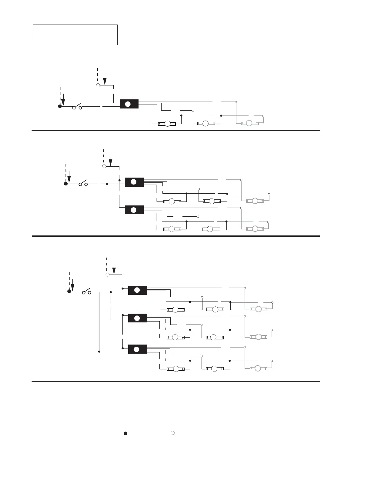
Standard Lighting 1 Row Canopy or Optional 1 Row Rail
Light Circuits
Optional Lighting 2 Rows Canopy
WARNING
All components must have mechanical ground, and the merchandiser must be grounded.
= 120V POWER
= 120V NEUTRAL
Grayed components in 12 foot models only.
R = Red Y = Yellow G = Green BL = Blue B = Black W = White
C
IRCLED NUMBERS = PARTS LIST ITEM NUMBERS
Optional Lighting 3 Row Canopy
120V NEUTRAL
ORANGE OR TAN BAND
W
Light
Switch
120V POWER
ORANGE OR TAN
BAND
B
B
W
BL
R
R
BL
BL
4
BL
R
R
BL
BL
4
5
5
5
5
55
120V NEUTRAL
ORANGE OR TAN BAND
W
Light
Switch
120V POWER
ORANGE OR TAN
BAND
B
BL
R
R
BL
BL
4
55
120V NEUTRAL
ORANGE OR TAN BAND
W
Light
Switch
120V POWER
ORANGE OR TAN
BAND
B
B
W
BL
R
R
BL
BL
4
BL
R
R
BL
BL
4
5
5
5
5
55
W
B
BL
R
R
BL
BL
4
55
R
5
R
R
R
R
R
5

Related product manuals