EasyManua.ls Logo

Hydra-Cell D-10 - Page 11

Hydra-Cell D-10
20 pages
Print Icon
To Next Page IconTo Next Page
To Next Page IconTo Next Page
To Previous Page IconTo Previous Page
To Previous Page IconTo Previous Page
Loading...
11
D10-991-2400B
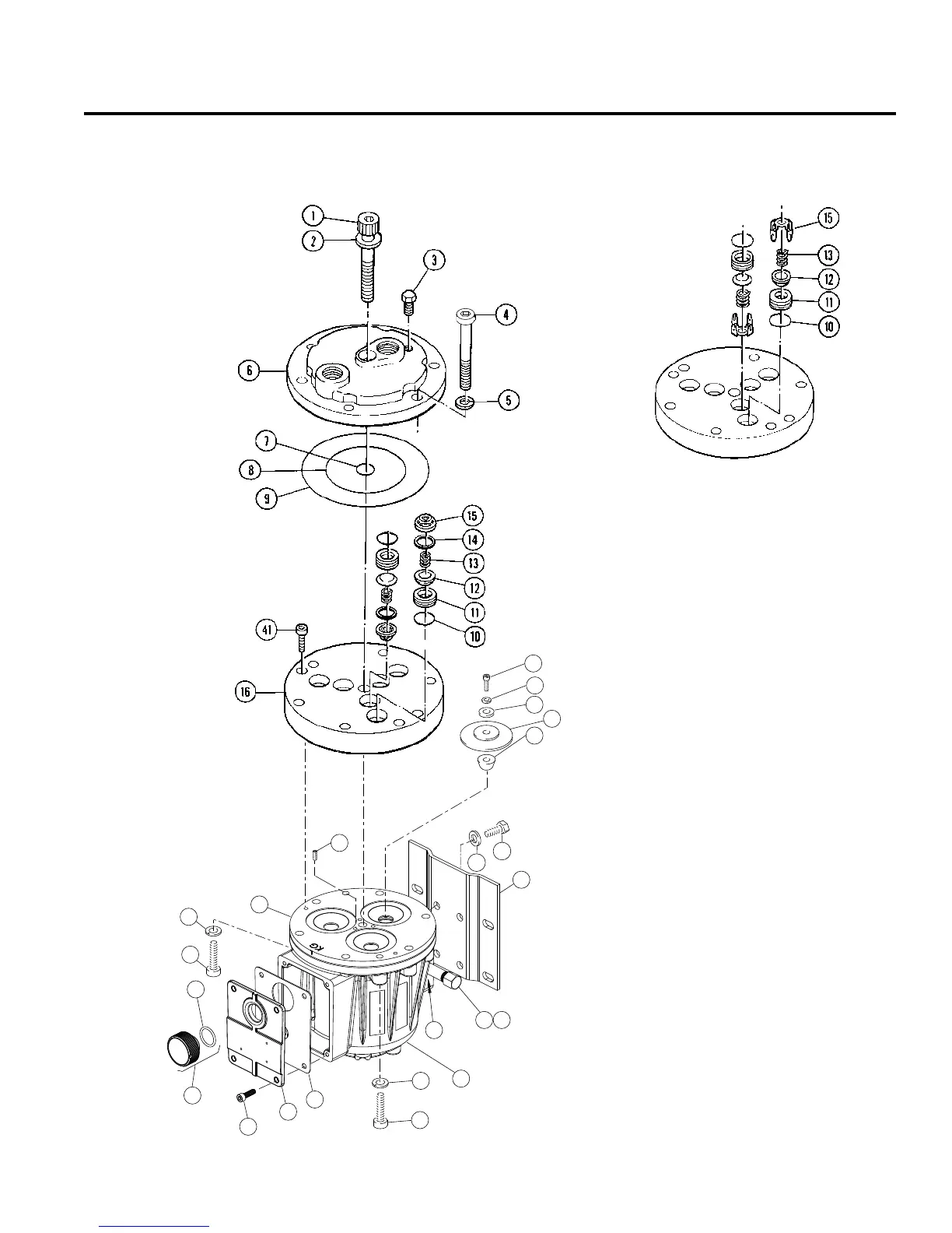
D/G-10 Service (Fluid End)

Related product manuals