EasyManua.ls Logo

IBM ThinkPad A21m - 14.1-In. and 15.0-In. Panels

IBM ThinkPad A21m
158 pages
Print Icon
To Next Page IconTo Next Page
To Next Page IconTo Next Page
To Previous Page IconTo Previous Page
To Previous Page IconTo Previous Page
Loading...
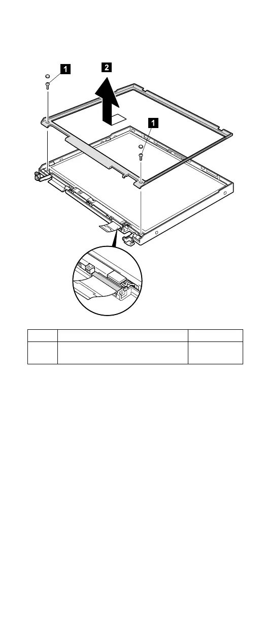
14.1-in. and 15.0-in. panels
Step Screw (quantity) Torque
1 M2.5 × 4.8 mm, nylon-coated (2) 0.392 Nm
(4 kgfcm)
Removing and replacing a FRU
ThinkPad A20m/p, A21m/p and A22m/p 97

Table of Contents

Related product manuals