EasyManua.ls Logo

iCartech AURORA G7 - Installation and Uninstall

iCartech AURORA G7
Print Icon
To Next Page IconTo Next Page
To Next Page IconTo Next Page
To Previous Page IconTo Previous Page
To Previous Page IconTo Previous Page
Loading...
EN-30
Installation and uninstall
Notes of installation
1) Before installation, please make sure proper connections are conducted and the unit
operates
normally. Improper connection may result in damage to the unit.
2) Use only accessories designed and manufactured for this unit and other unauthorized
accessories may result in damage to the unit.
3) Before installation, please fasten all power cables.
4) DO NOT install the unit in the place where close to hot area to prevent damage to electrical
components such as the laser head.
5) Install the unit horizontally. Installing the unit more than 30 degree vertically may result in worse
performance.
6) To prevent electric spark, connect the positive pole first and then the negative pole.
7) DO NOT block the cooling fan exit to ensure sufficient heating dissipation of this unit, or it may
result in damage to this unit.
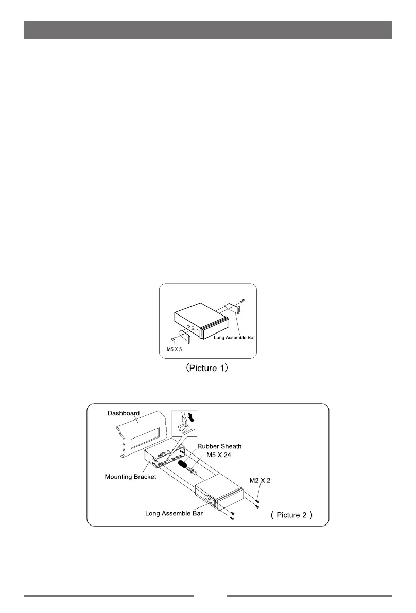
Unit Installation
Method A
(1) Insert mounting bracket into dash board, choose appropriate mounting tab according to the
gap width, bending the mounting tab outwards with a screwdriver to fix the mounting bracket in
place.
(2) Use 2 pieces of M5x5 cone shaped screw to fix two assemble bars on both sides of the
unit(see picture 1)
(3) Screw in 1 piece of M5x24 to the hole of the unit back and put on a rubber sheath over the
screw.(see picture 2)

Table of Contents