EasyManua.ls Logo

ICP CSA6 - Non−Communicating Standard Thermostat; Non−Communicating Indoor with Observer Communicating Wall Control

ICP CSA6
15 pages
Print Icon
To Next Page IconTo Next Page
To Next Page IconTo Next Page
To Previous Page IconTo Previous Page
To Previous Page IconTo Previous Page
Loading...
INSTALLATION INSTRUCTIONS R410A Split System Air Conditioner
14 421 01 5104 02
Specifications subject to change without notice.
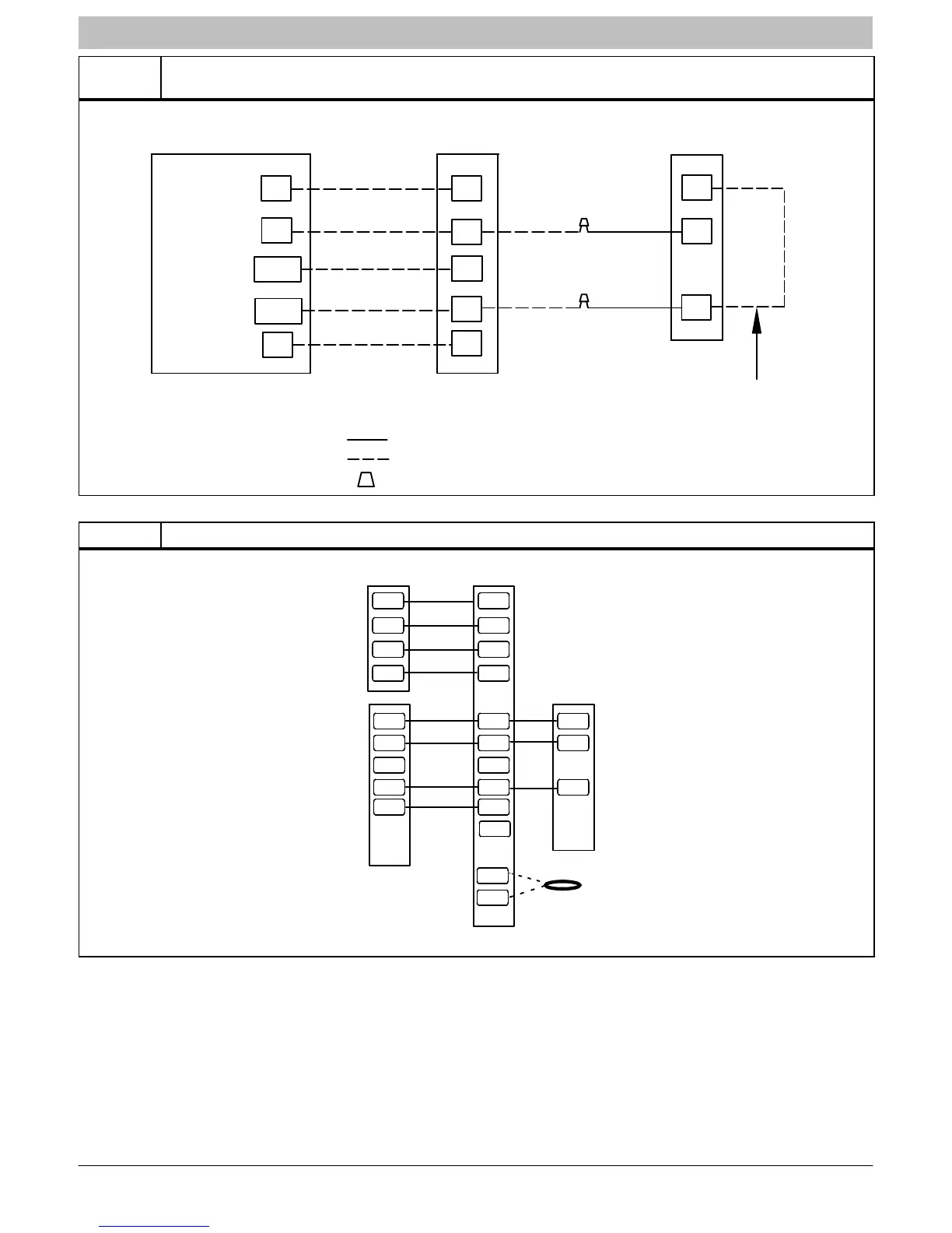
Figure 12
NonCommunicating Standard Thermostat
2Wire 24V Circuit Connections
R
C
W/W1
Y/Y2
G
G
Y
W
C
R
R
C
Y
FIEL INSTALLED JUMPER WIRE
AIR CONDITIONER
TPPICAL FURNACE
OR
FAN COIL
A/C THERMOSTAT
24VAC HOT
24VAC COM
HEAT STAGE 1
HEAT STAGE 2
INDOOR FAN
LEGEND
24V FACTORY WIRING
24V FIELD WIRING
FIELD SPLICE CONNECTION
NOTE: Wiring must conform to NEC or local codes.
Figure 13 NonCommunicating Indoor with Observer Communicating Wall Control
NAXA00101DB
Green
Yellow
White
Red
OAT
Sensor
Communicating
Outdoor
W2
C
Y
R
C
R
Wall
Control
OAT
DX+
R
C
DX-
Y
G
O
C
Y/Y2
R
W2
G
DX+
R
C
DX-
Non-Communicating
Indoor
NOTE: This installation requires the daughter board
accessory, NAXA00101DB.
NOTE: This installation does not allow for communicating
feature functionality.

Related product manuals