EasyManua.ls Logo

IDEAL 4215 - Page 10

IDEAL 4215
44 pages
Print Icon
To Next Page IconTo Next Page
To Next Page IconTo Next Page
To Previous Page IconTo Previous Page
To Previous Page IconTo Previous Page
Loading...
- 10 -
IDEAL 4215
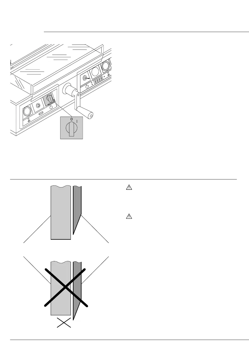
When not in use for a longer period switch off.
(Main switch to "0").
Safety precautions
Clamping
Blade
OK
OK
Danger!
Do not turn main switch to position "0"whilst
blade is moving upwards or downwards!
Risk of injury!
Danger! Blade must always be covered
by the pressing bar.

Related product manuals