EasyManua.ls Logo

IFM Electronic efector300 SI5000 - Scale Drawing; Technical Data

IFM Electronic efector300 SI5000
13 pages
Print Icon
To Next Page IconTo Next Page
To Next Page IconTo Next Page
To Previous Page IconTo Previous Page
To Previous Page IconTo Previous Page
Loading...
12
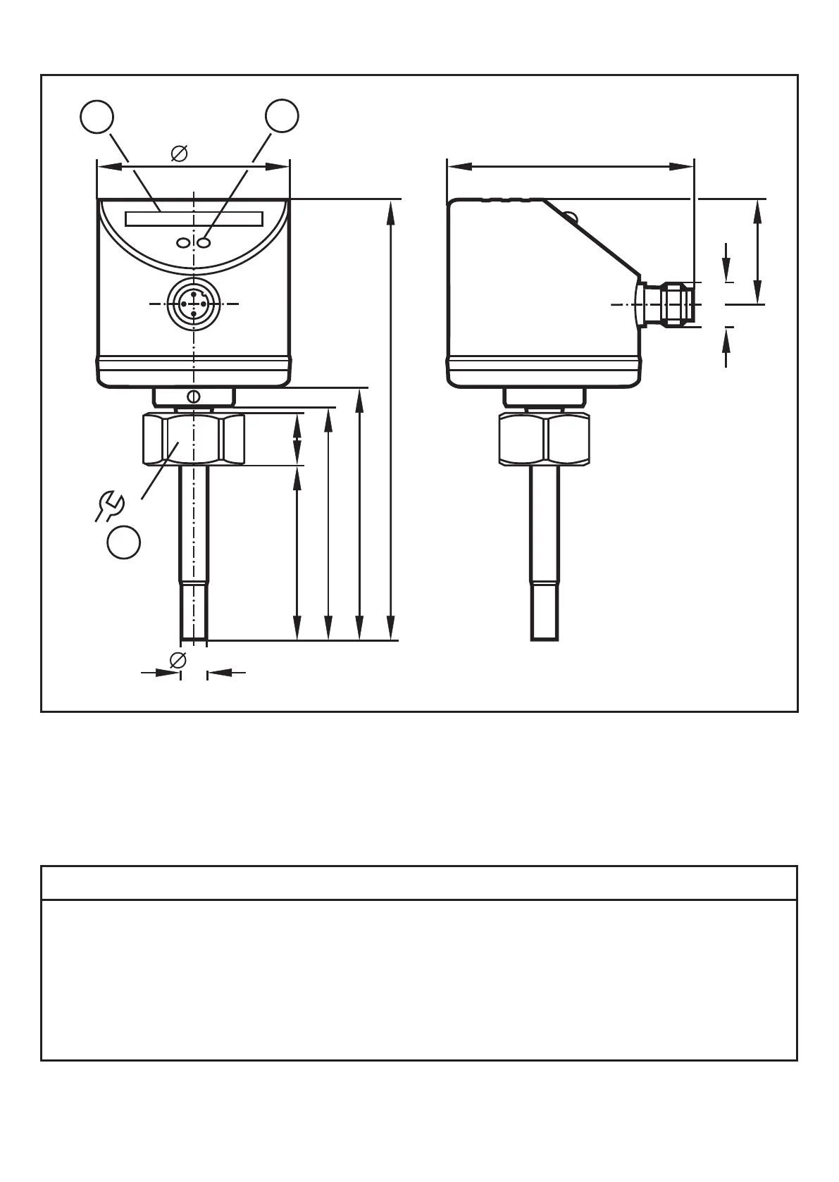
11 Scale drawing
22
1
2
3
113
60
65
14
7,7
45
50
27
63
M12 x1
1: LED bar display
2: set button
3: tightening torque 25 Nm
12 Technical data
Application area ����������������������������������������������������������������������������������������Liquids and gases
Operating voltage [V] ����������������������������������������������������������������������������������������19 ��� 36 DC
1)
Current rating [mA] ����������������������������������������������������������������������������������������������������������250
Short-circuit protection, pulsed; reverse polarity / overload protection
Voltage drop [V] �������������������������������������������������������������������������������������������������������������< 2�5
Current consumption [mA] ���������������������������������������������������������������������������������������������< 60
Power-on delay time [s] ���������������������������������������������������������������������� 10, optically indicated

Related product manuals