EasyManua.ls Logo

Immergas MINI NIKE 3 E - Page 169

Immergas MINI NIKE 3 E
Print Icon
To Next Page IconTo Next Page
To Next Page IconTo Next Page
To Previous Page IconTo Previous Page
To Previous Page IconTo Previous Page
Loading...
167
TR
SI
CZ
HU
RO
IE
RU
UA
PL
ES
SK
2.5 POUŽITIE KOTLA.
Pred zapnutím preverte, či je zariadenie naplnené
vodou, skontrolujúc či ručička manometra (7)
ukazuje hodnotu medzi 1÷1,2 barmi.
- Otvoriť plynový kohútik pred kotlom.
- Stlačiť tlačidlo (2) až do zapnutia displeju, po-
tom stlačiť následne opäť tlačidlo (2) a doviesť
kotol do polohy leto ( ) alebo zima ( ).
Leto ( ): v tejto modalite kotol funguje iba
pre ohrievanie teplej sanitárnej vody, teplota je
nastavená pomocou tlačidiel (3-4) a príslušná
teplota je zobrazená na displeji prostredníc-
tvom indikátora (16).
Zima ( ): v tejto modalite funguje kotol
ako pre ohrievanie teplej sanitárnej vody, tak
pre vyhrievanie prostredia. Teplota sanitárnej
vody sa reguluje pomocou tlačidiel (3-4), tep-
lotavyhrievania sa reguluje pomocou tlačidiel
(5-6) a príslušná teplota je zobrazena displeji
prostredníctvom indikátora (16).
Od tohto momentu kotol funguje automaticky.
Pokiaľ nie požiadavky na teplo (vyhrievanie
alebo produkcia teplej sanitárnej vody), kotol sa
dostáva do funkcie „čakanie“, čo sa rovná kotlu
napájanému bez prítomnosti plameňa. Zakaž-
dým, keď sa horák zapne, zobrazí sa na displeji
príslušný symbol prítomnosti plameňa (10) s
relatívnou škálou výkonu.
Fungovanie s Ovládačom Vzdialený Priat
V2
(CAR
V2
) (Optional). V prípade zapojenia
CAR
V2
sa na displeji objaví symbol ( ),
parametre regulácie kotla nastaviteľné na
ovládacom paneli CAR
V2
, na ovládacom paneli
kotla zostane aktívne tlačidlo reset (1), tlačidlo
vypnutia (2) (len modalita „o“) a displej, na
ktorom sa zobrazí stav fungovania.
Upozornenie: Ak je kotol v modalite „o, na
CAR
V2
sa objaví symbol chybného zapojenia
CON“, CAR
V2
je však napájaný a programy,
uložené do pamäti, sa nestratia.
Fungovanie s externou sondou optional
( ). V prípade zariadenia s externou
sondou optional je nábehová teplota kotla pre
prostredie riadená externou sondou vo funkcii
meranej vonkajšej teploty (Odst. 1.6). Je možné
modikovať nábehovú teplotu zvolením krivky
fungovania pomocou tlačidiel (5 a 6), ktorými
sa zvolí hodnota od „0 po 9“ (Obr. 1-8).
S aktívnou externou sondou sa na displeji
objaví symbol (12). V zahrievacej fáze kotol,
pokije teplota vody nachádzaca sa v okruhu
postačujúca na zahriatie radiátorov, môže fun-
govať len prostredníctvom aktivácie čerpadla
kotla.
Modalita „stand-by“. Stlač následne tlačidlo (2)
kým sa neobjaví symbol ( ), od tohto okam-
žiku kotol zostane aktívny, v každom prípade je
zaručená funkcia proti zamrznutiu, zablokovaniu
čerpadla a funkcia trojcestného ventilu, ako aj
signalizácia eventuálnych anomálií.
Poznámka: v tejto podmienke sa kotol musí
považovať ako ešte pod napätím.
Modalita „off . Podržam tlačidla (2) po
dobu 8 sekúnd displej zhasne a kotol je úplne
vypnutý. V tejto modalite nie sú zaručené
bezpečnostné funkcie.
Poznámka: v tejto podmienke sa kotol, aj keď
nemá aktivované funkcie, musí považovať ako
ešte pod napätím.
Fungovanie displeja. Počas použitia ovláda-
cieho panelu sa displej rozsvieti, po 15 sekun-
dách nečinnosti jasu ubúda po zobrazenie
len aktívnych symbolov. Je možné pozmeniť
modalitu osvetlenia pomocou parametra P2
v personalizovanom menu na elektronickej
karte.
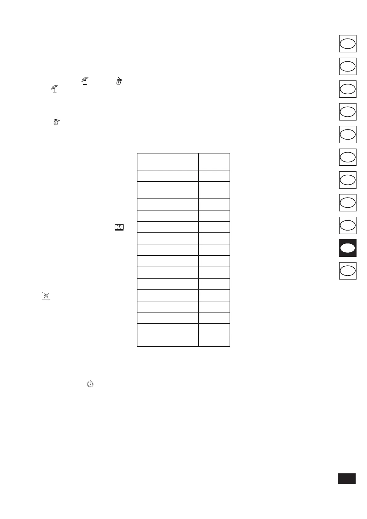
2.6 SIGNÁLY ZÁVAD A ANOMÁLIÍ.
Osvetlenie displeja kotla v prípade anomálie „bli-
“ a okrem toho sa na displeji objavia príslušné
kódy chýb uvedené v tabuľke.
Signalizovaná anomália
Zobrazený
kód
(blikajúci)
Zablokovanie v dôsledku
nezapálenia
01
Zablokovanie bezpečnostné-
ho termostatu (prehriatie),
anomália kontroly plameňa
02
Anomália termostatu spalín 03
Anomália nábehovej sondy 05
Anomália sanitárnej sondy 06
Maximálny počet resetovaní 08
Nedostatočný tlak v zariadení 10
Chyba v kongurácii 15
Parazitný plameň 20
Anomália tlačidlového panela 24
Nepostačujúci obeh 27
Strata komunikácie so vzdia-
leným ovládaním
31
Nízke napätie napájania 37
Strata signálu plameňa 38
Zablokovanie pre stratu
signálu stáleho plameňa
43
Zablokovanie v dôsledku nezapálenia. Pri
každej žiadosti o vyhrievanie prostredia alebo o
produkciu teplej vody sa kotol automaticky za-
pne. Pokiaľ zapnutie horáka neprebehne do doby
10 sekúnd, kotol sa dostane do zablokovania
zapnutia(kód 01). Pre odstránenie zablokovania
zapnutia je potrebné stlačiť tlačidlo Reset (1).
Pri prvom zapnutí alebo po dlhej nečinnosti
prístroja že byť potrebný zásah na odstrá-
nenie „zablokovania zapnutia. Pokiaľ sa tento
jav opakuje častokrát, zavolajte zodpovedného
technika (napríklad zo Strediska Technickej
Asistencie Immergas).
Zablokovanie termostatu pre prehriatie. Počas
normálneho režimu, pokiaľ nastane z dôvodov
anomálie prehriatie vnútorného prostredia, sa
kotol zablokuje pre nadmernú teplotu (kód 02).
Po dostatočnom ochladení eliminovať „zabloko-
vanie pre prehriatiestlačením tlačidla Reset (1).
Pokiaľ sa tento jav opakuje častokrát, zavolajte
zodpovedného technika (napríklad zo Strediska
Technickej Asistencie Immergas).
Anomália termostatu spalín. Objavuje sa v
prípade, keď potrubie pre odvod spalín nefunguje
správne (kód 03). Kotol sa uvedie do stavu nečin-
nosti na 30 minút, potom v prípade opätovného
nastavenia normálnych podmienok sa spustí bez
toho, že by musel byť resetova. Pokiaľ po 3 po
sebe nasledujúcich zablokovaniach sa kotol naďa-
lej blokuje, je potrebvykonať jeho resetovanie.
Zostane však nevyhnutné zavolať zodpovedného
technika pre vyriešenie problému (napríklad zo
Strediska Technickej Asistencie Immergas.
Anomália nábehovej sondy. Ak karta určí
anomáliu na nábehovej sonde (kód 05) kotol
sa nespustí; je potrebné povolať zodpovedného
technika (napríklad zo Strediska Technickej
Asistencie Immergas).
Anomália sanitárnej sondy. Ak karta určí ano-
máliu na sanitárnej sonde NTC, kotol signalizuje
anomáliu. V takomto prípade kotol pokračuje
s produkciou teplej sanitárnej vody, ale nie s
optimálnym výkonom. Okrem toho je v tomto
prípade deaktivovaná funkcia proti zamrznutiu,
a preto je nevyhnutné povolať zodpovedného
technika (napríklad zo Strediska Technickej
Asistencie Immergas).
Maximálny počet resetovaní. Pre odstránenie
eventuálnej anomálie je potrebné stlačiť tlačidlo
Reset (1). Je mné resetov anomáliu 5
krát za sebou, potom je funkcia deaktivovaná
najmenej na jednu hodinu a potom je možné
skúšať jedenkrát za hodinu po maximálny počet
pokusov 5.
Nedostatočný tlak v zariadení. Nie je zistený
postačujúci tlak vody vo vnútri vyhrievacieho
okruhu (kód 10), ktorý je potrebný pre správne
fungovanie kotla. Preveriť, či je tlak zariadenia
medzi 1÷1,2 barmi.
Chyba v kongurácii. Ak karta určí anomáliu
alebo nezhodnosť na elektrických kábloch, kotol
sa nespustí. V prípade opätovného nastavenia
norlnych podmienok sa kotol spustí bez
toho, že by musel byť resetovaný. Pokiaľ sa tento
jav opakuje častokrát, zavolajte zodpovedného
technika (napríklad zo Strediska Technickej
Asistencie Immergas).
Parazitný plameň. Objavuje sa v prípade strát
na danom okruhu alebo pri anomálii plameňa
(kód 20); skúsiť resetovať kotol a pokiaľ anomália
pretrváva, je potrebné povolať zodpovedného
technika (napríklad zo Strediska Technickej
Asistencie Immergas).
Anomália tlačidlového panela. Objavuje sa v
prípade, v ktorom elektronická karta stanoví
anomáliu na tlačidlovom paneli. V prípade opä-
tovného nastavenia normálnych podmienok sa
kotol spustí bez toho, že by musel byť resetovaný.
Pokiaľ sa tento jav opakuje častokrát, zavolajte
zodpovedného technika (napríklad zo Strediska
Technickej Asistencie Immergas).

Other manuals for Immergas MINI NIKE 3 E

Related product manuals