EasyManua.ls Logo

Immergas VICTRIX 50 - VICTRIX 50 Main Components

Immergas VICTRIX 50
48 pages
Print Icon
To Next Page IconTo Next Page
To Next Page IconTo Next Page
To Previous Page IconTo Previous Page
To Previous Page IconTo Previous Page
Loading...
3
STV50 ed 09/08 VICTRIX 50 Rev. 002
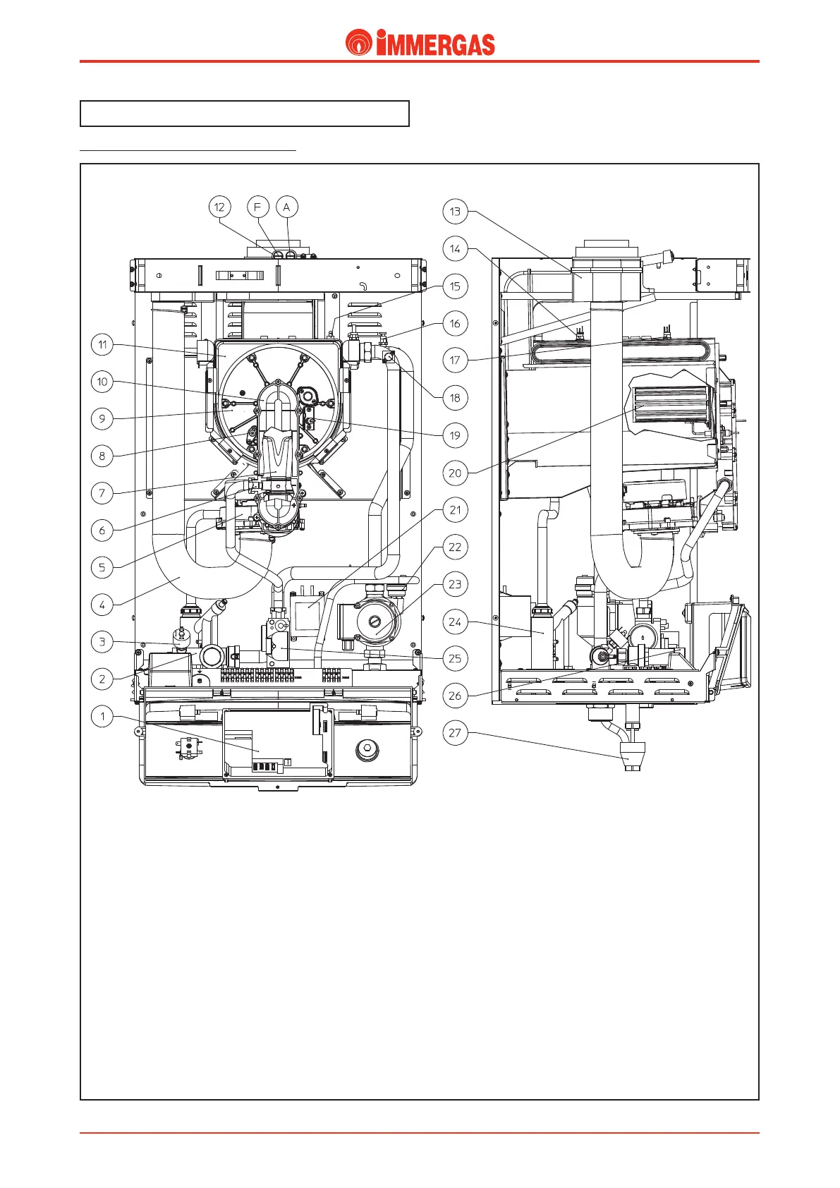
Legend:
1 - P.C.B.
2 - Flow manifold
3 - System pressure switch
4 - Air intake pipe
5 - Fan
6 - Gas nozzle
7 - Venturi
8 - Detection electrode
9 - Cover of condensing module
10 - Sleeve with Venturi housing
11 - Condensing module
12 - Air/ue sample points (air A) - (fumes F)
13 - Flue hood
14 - System return NTC probe
15 - Flue safety thermostat
16 - Manual vent valve
17 - System ow NTC probe
18 - Overtemperature safety thermostat
19 - Ignition plug
20 - Burner
21 - Current transformer
22 - Automatic vent valve
23 - Pump
24 - Condensate syphon
25 - Gas valve
26 - 4-bar safety valve
27 - Drain funnel
(from the serial number 3918687)
VICTRIX 50 main components.
Technical Documentation
Technical Documentation

Other manuals for Immergas VICTRIX 50

Related product manuals