EasyManua.ls Logo

IMO *G3D-250 - Page 27

Default Icon
36 pages
Print Icon
To Next Page IconTo Next Page
To Next Page IconTo Next Page
To Previous Page IconTo Previous Page
To Previous Page IconTo Previous Page
Loading...
27
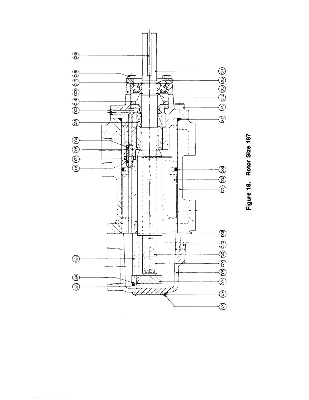
Note: Idler Cups (20) not required on some designs.

Related product manuals