EasyManua.ls Logo

Imperial Systems CMAXX - Electrical; Solenoid Schematic

Imperial Systems CMAXX
28 pages
Print Icon
To Next Page IconTo Next Page
To Next Page IconTo Next Page
To Previous Page IconTo Previous Page
To Previous Page IconTo Previous Page
Loading...
imperialsystemsinc.com 24 Imperial Systems Inc.
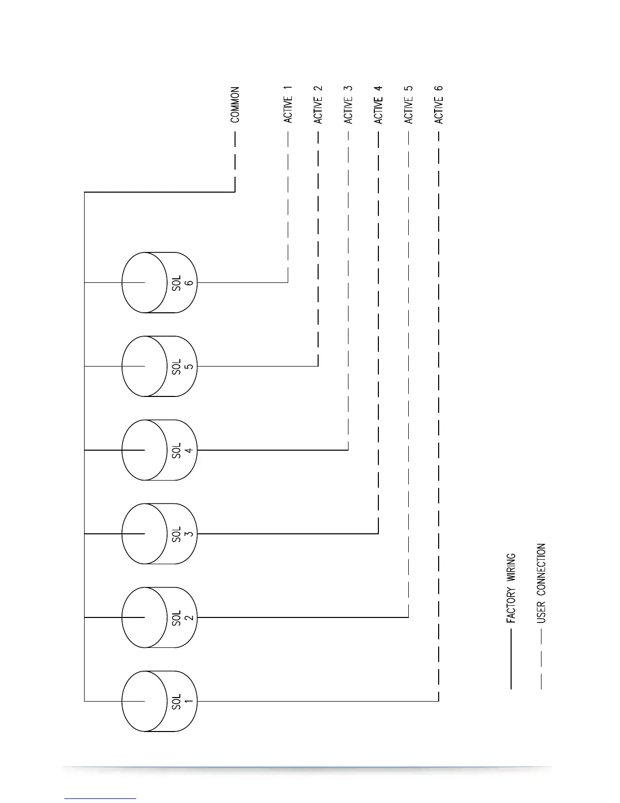
11. ELECTRICAL
11.1 SOLENOID SCHEMATIC