EasyManua.ls Logo

Impex WM 1402 - Step 10: Booster Cable

Impex WM 1402
22 pages
Print Icon
To Next Page IconTo Next Page
To Next Page IconTo Next Page
To Previous Page IconTo Previous Page
To Previous Page IconTo Previous Page
Loading...
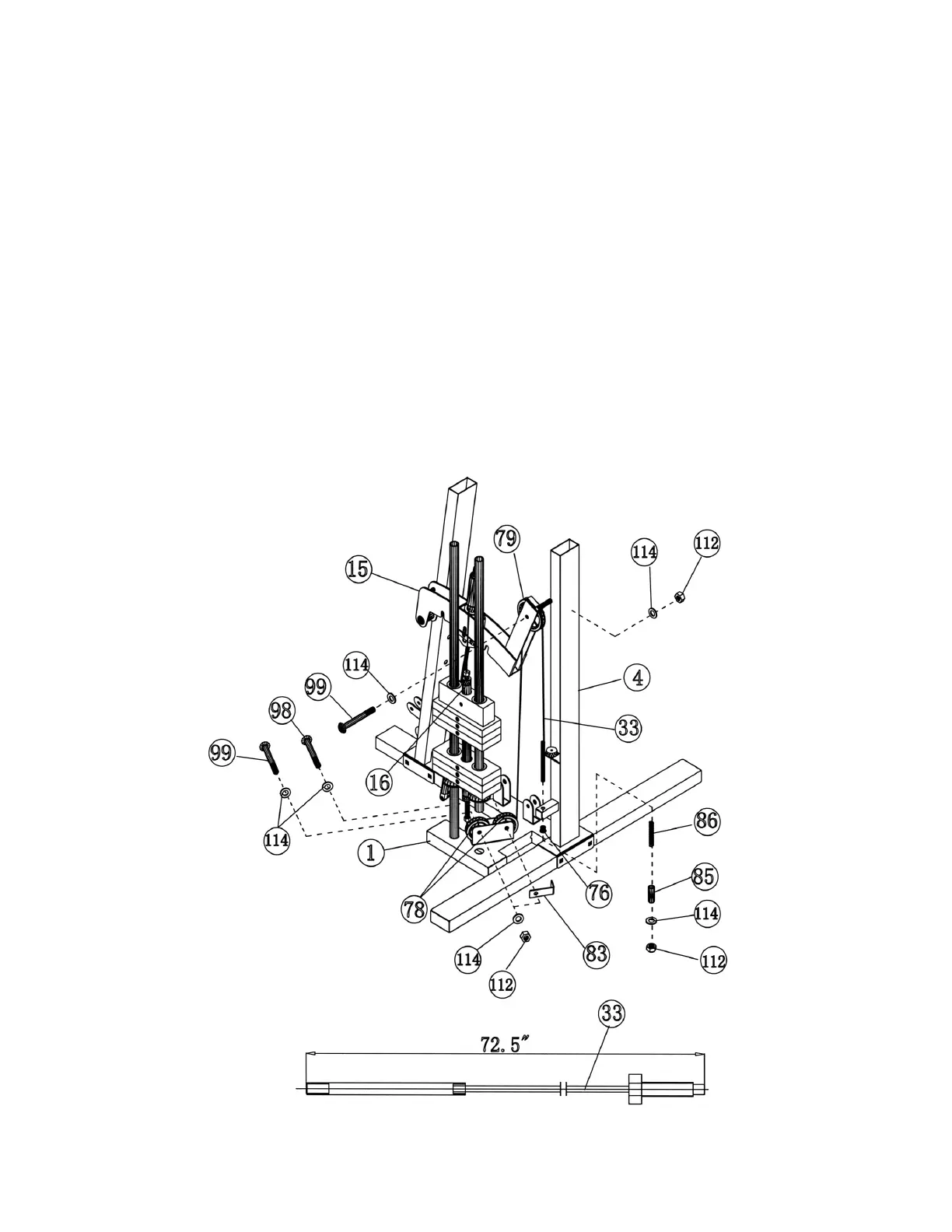
STEP 10 (See Diagram 10 & Cable Loop Diagram)
A.) Plug one 1/2” Plastic Bushing (#76) into the hole on the side of the Rear Vertical Beam
(#4) from the bottom up. Insert the “long bolt end” of the 72 ½” Power Booster Cable (#33)
into the hole. Slide a Spring (#86) and Spring Sleeve (#85) onto the Bolt. Secure it with a
¾” Washer (#114) and M10 Aircraft Nut (#112).
B.) Pull the Cable upward to the Power Booster Frame (#15). Install a Pulley (#79). Secure it
with a M10 x 1 ¾” Allen Bolt (#99), two ¾” Washers (#114) and one M10 Aircraft Nut.
C.) Draw the Cable over the Pulley downward towards the bracket on the Base Frame (#1).
Install a Small Pulley (#78). Secure it with one M10 x 2” Allen Bolt (#98), two ¾” Washers
(#114), one 2 3/8” L-shaped Bracket (#83), and one M10 Aircraft Nut (#112).
D.) Continue pulling the Cable to the left towards the bottom of the Weight Stack. Install another
Pulley (#78). Secure it with one M10 x 1 ¾” Allen Bolt (#99), two ¾” Washers (#114), and
one M10 Aircraft Nut (#112).
E.) Pull the Cable upward and screw it into the bottom of the Selector Rod (#16). NOTE: The
Screw only needs to go into the Rod by ½”. After a period of time using the machine, the
cable will get loose. When the Cable gets loose, screw the bolt further into the Rod.
DIAGRAM 10
15

Related product manuals