EasyManua.ls Logo

Infiniton GWA-11NP - Page 33

Infiniton GWA-11NP
Print Icon
To Next Page IconTo Next Page
To Next Page IconTo Next Page
To Previous Page IconTo Previous Page
To Previous Page IconTo Previous Page
Loading...
Page 7
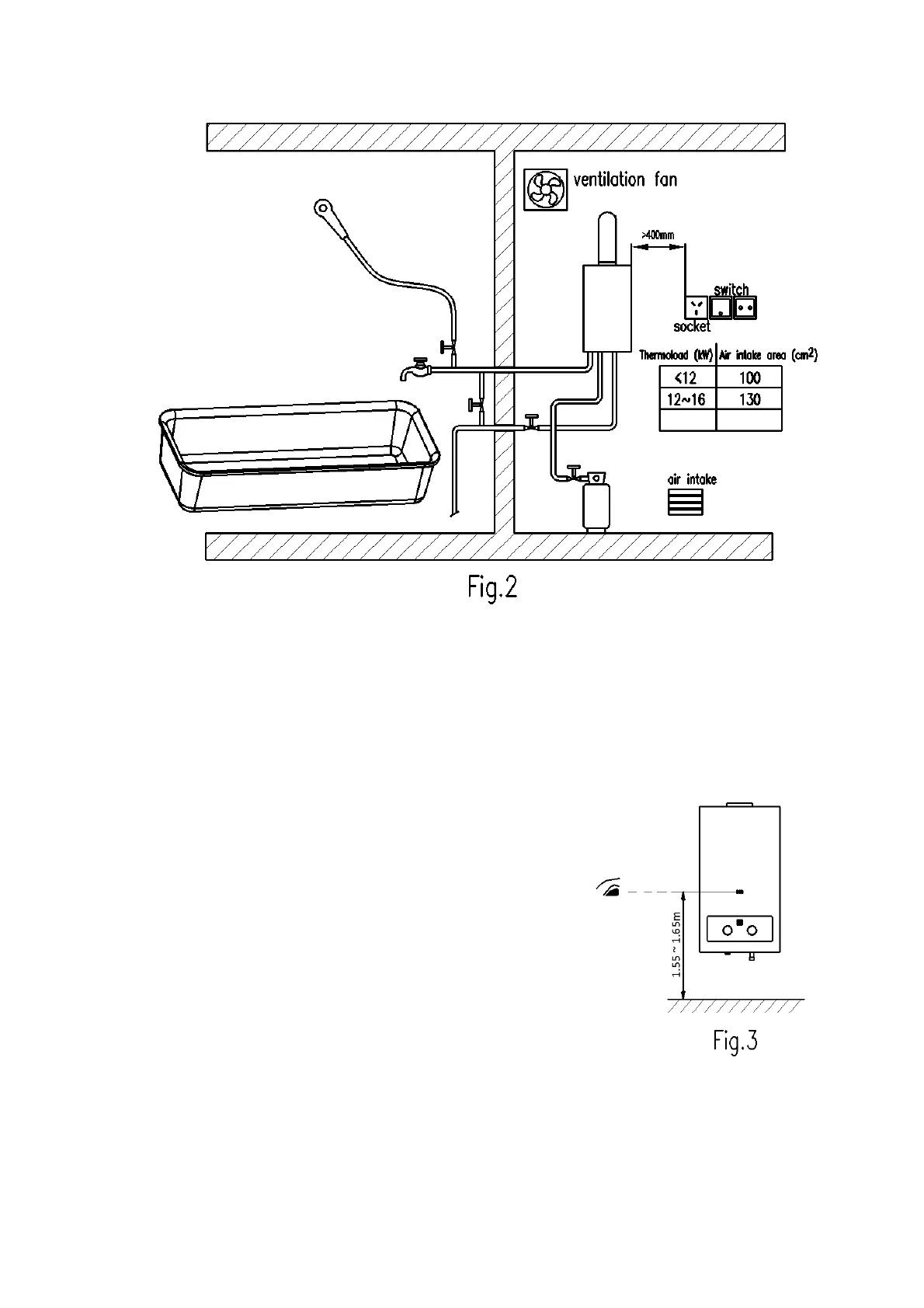
Installation Requirements
Do not install the appliance in bedroom, basement, bathroom, or rooms with
bad ventilation condition. The room for installation shall be well ventilated. A
ventilation hole as well as an air intake hole which connects to the outside must
be drilled in the wall, and the size of the hole must be no less than the table in
Fig.2. The ventilation fan, if there is one, shall be
installed over the appliance, and the air intake hole
level should be lower than the appliance. The
appliance must be kept at least 400mm far from
electricity (Fig.2), and neither line or electric
equipment could be put over the appliance.
The flame-view window of the appliance shall be at
the level of eyes about 1.55m-1.65m above the floor.
(Fig.3), which is ergonomic for flame checking. And
the appliance must keep certain distances from
nearby objects whether inflammable or flame
retardant in case of fire accidents (Fig.4).
16~28
400

Related product manuals