EasyManua.ls Logo

INVENTOR MGHP-12 - Safety Precautions; Safety Rules

INVENTOR MGHP-12
56 pages
To Next Page IconTo Next Page
To Next Page IconTo Next Page
To Previous Page IconTo Previous Page
To Previous Page IconTo Previous Page
Loading...
4
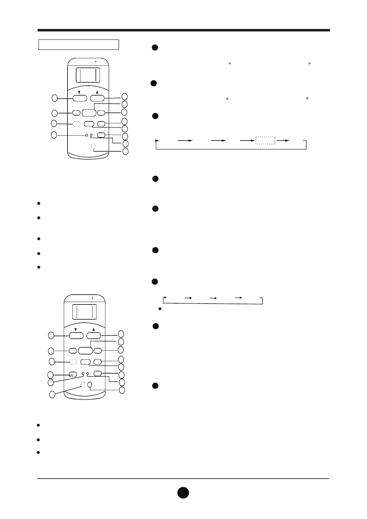
Function buttons
1
TEMP DOWN Button
Push this button to decrease the indoor temper-
ature setting in 1 C(2 F) increments to 30 C(88 F).
oo
2
TEMP UP Button
Push this button to increase the indoor temper-
ature setting in 1 C(2 F) increments to 17 C(62 F).
oo
Model: RG51B14/(C)E,RG51B16/(C)E,
RG51B18/(C)E, RG51B19/(C)E-M,
RG51B20/(C)E, RG51B31/(C)E
RG51B30/(C)E, RG51B32/(C)E
RG51B16/(C)E ,RG51B18/(C)E
models have no SWING feature;
RG51B18/(C)E ,RG51B19/(C)E-M,
RG51B20/(C)E mo dels have no
LED DISPLAY feature.
RG51B19/(C)E-M model has no
MED FAN feature.
RG51B31/(C)E mo del ECONOMY button
is instead of SL
EEP button.
RG51B30/(C)E mo del has no
MED FAN and SWING features.
RG51B32/(C)E mo del has no MED FAN,
SWING and ECONOMY features.
NOTE:
Each time the button is pressed, the operation
mode is selected in the sequence of the following:
3
MODE Button
TEMP
AUTO
COOL
DRY
HEAT
FAN
HIGH
MED
LOW
MODE
FAN SPEED
SWING TIMER ON
ECONOMY
ON/OFF
TIMER OFF
RESET LOCK
1
2
4
3
6
5
7
8
9
10
11
SET TEMPERATU RE( C)
LED
DISPLAY
4
SWING Button(on some models)
Used to stop or start louver movement and
set the desired up/down ai rflow direction.
5
6
RESET Button
Once the recessed RESET button is pressed,
all of the current settings will be cancelled
and the controller will return to the initial settings.
7
ON/OFF Button
Operation starts when this button is pressed
and stops when the b utton is pressed again.
AUTO COOL DRY HEAT FAN
Used to select the fan speed in four steps:
Auto Low Med High
FAN SPEED Button
12
TIMER ON Button
8
Press this button to activate the Auto-on time
setting. Each press will increase the time setting
in 30 minutes increments, up to 10 hours, then at
1 hour i ncrements up to 24 hours. To cancel the
Auto-on time setting, just press the button until
the time setting is 0.0.
9
ECONOMY(SLEEP) Button
Select this function during the sleeping time. It
can maintain the most comfortable temperature
and save energy. This function is available on
COOL, HEAT or AUTO mode only .
Some models have no MED FAN feature.
TE MP
AUTO
COOL
DRY
HEAT
FAN
HIGH
MED
LOW
MODE
FAN SPEED
TIMER ON
ECONOMY
ON/OFF
TIMER OFF
RESET LOCK
1
2
3
6
5
7
8
9
10
11
SET TEMPERATURE( C)
LED
DISPLAY
12
ION
14
Model: RG51B25/(C)E;RG51B27/(C)E
RG51B30/(C)EF
SWING
NOTE:
RG51B25/(C)E model has no SWING
and FOLLOW ME features.
RG51B27/(C)E model has no FOLLOW ME
feature.
RG51B30/(C)EF mode l has no SWING and
ION features,ECONOMY button is instead
of SLEEP button
4
NOTE:
Do not select HEAT mode if the machine you
purchased is cooling only type. Heat mode is not
supported by the cooling only appliance.
F OL LOW
ME
13

Other manuals for INVENTOR MGHP-12

Related product manuals