EasyManua.ls Logo

irinox CP Multi Series - Condensation Discharge Connection; Water Cooled Unit Connections

irinox CP Multi Series
28 pages
Print Icon
To Next Page IconTo Next Page
To Next Page IconTo Next Page
To Previous Page IconTo Previous Page
To Previous Page IconTo Previous Page
Loading...
13
2.8. CONDENSATION DISCHARGE CONNECTION
2.9. CONNECTION OF WATER COOLED UNITS
For all models, it is necessary to provide a discharge
pipe for the condensation and wash water, with a
minimum diameter of 1", “Geberit" type or similar.
If there is no connection to a drain, install the container
provided for collection of condensation water.
Fasten the support/guide on the bottom of the unit with
the four M6 screws provided.
Fasten the extension pipe to the rear discharge pipe of
the unit (Fig.15).
Insert the container in the support/guide (fig.16).
Make sure that the extension pipe is tilted
towards the container, to prevent water from stagnating
inside of it.
For the position
see par. 2.3.
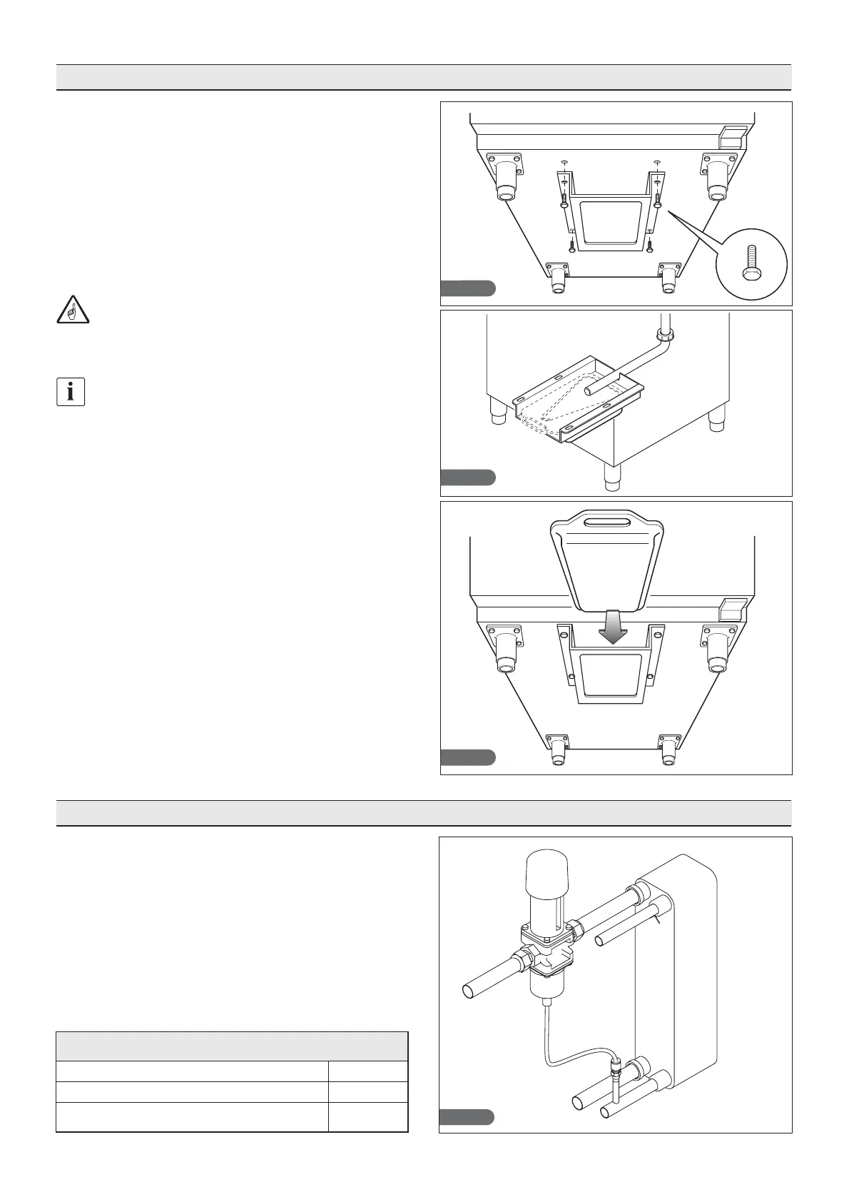
When testing (mains water), make sure the machine
is at a standstill, that the water supply is ready and
that water is not coming out of the condenser drain
pipe; in this case, adjust the pressure valve until
water coming out is completely stopped (Fig. 17).
We suggest you install a gate valve and a viewable
filter on the water delivery pipeline. The condenser
water delivery and discharge pipes are indicated by
special nameplates. Both fittings are threaded 3/4”F.
See Table 3 for maximum water consumption
Fig. 17
Fig.14
Fig. 15
Fig. 16
CHARACTERISTICS OF THE LINE FOR
WATER COOLED UNIT
Maximum inlet pressure of water
Minimum inlet pressure of water
Maximum inlet water temperature to
ensure normal operation of the unit
232 PSI
7,25 PSI
77°F (well water)
104°F (city water)

Related product manuals