EasyManua.ls Logo

Isolite E3-MAC Series - Page 8

Isolite E3-MAC Series
40 pages
Print Icon
To Next Page IconTo Next Page
To Next Page IconTo Next Page
To Previous Page IconTo Previous Page
To Previous Page IconTo Previous Page
Loading...
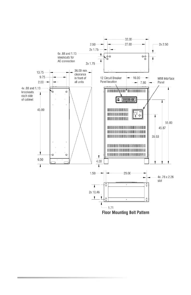
SIZE 2
1.6KW thru 3.0KW Models
8 | INSTALLATION / OPERATION MANUAL

Related product manuals