EasyManua.ls Logo

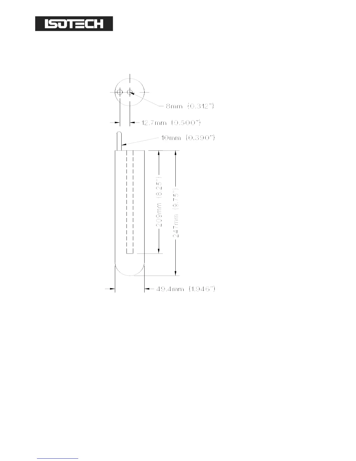
Isotech M17705 - Figure 3; Sealed Metal Freezing Point Cell Body Dimensions

Default Icon
40 pages
Print Icon
To Previous Page IconTo Previous Page
To Previous Page IconTo Previous Page
Loading...
Page 40 of 40
Dual Furnace Models M17705, N17706 & 17707 Iss.09 12/14
FIGURE 3; SEALED METAL FREEZING POINT CELL BODY DIMENSIONS

Table of Contents