EasyManua.ls Logo

JABSCO Ultima - Page 50

JABSCO Ultima
52 pages
Print Icon
To Next Page IconTo Next Page
To Next Page IconTo Next Page
To Previous Page IconTo Previous Page
To Previous Page IconTo Previous Page
Loading...
07/03 Page 48
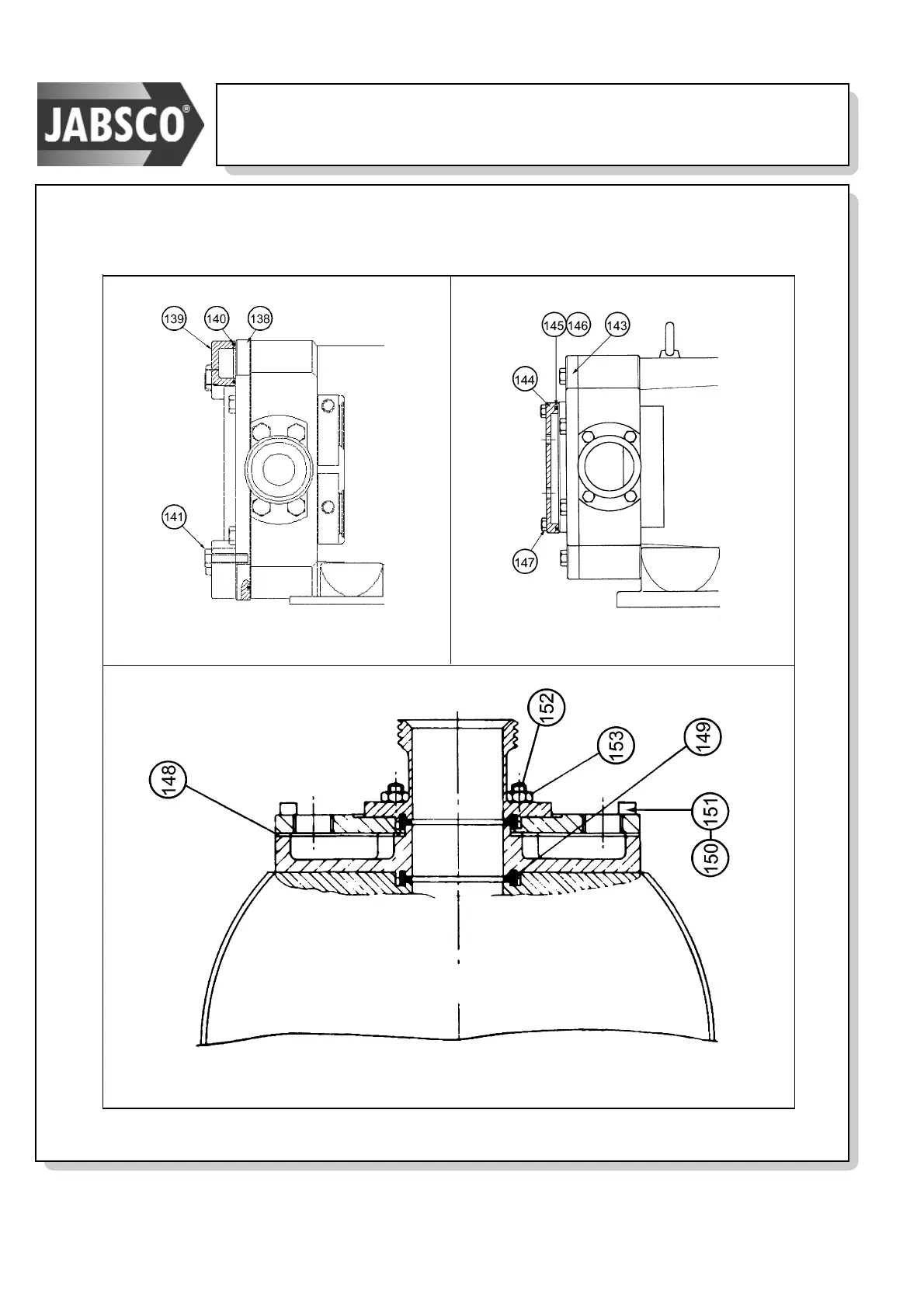
Hy~Line and Ultima Lobe Pumps
Thermal Jacket - Pump Head
Thermal Jacket - Rotor Case
Thermal Jacket - End Cover
8.05 OPTIONS & EXTRAS - SECTIONAL VIEWS

Related product manuals