EasyManua.ls Logo

Jacobsen TR3 EJ Series - Page 183

Jacobsen TR3 EJ Series
186 pages
Print Icon
To Next Page IconTo Next Page
To Next Page IconTo Next Page
To Previous Page IconTo Previous Page
To Previous Page IconTo Previous Page
Loading...
cs-91
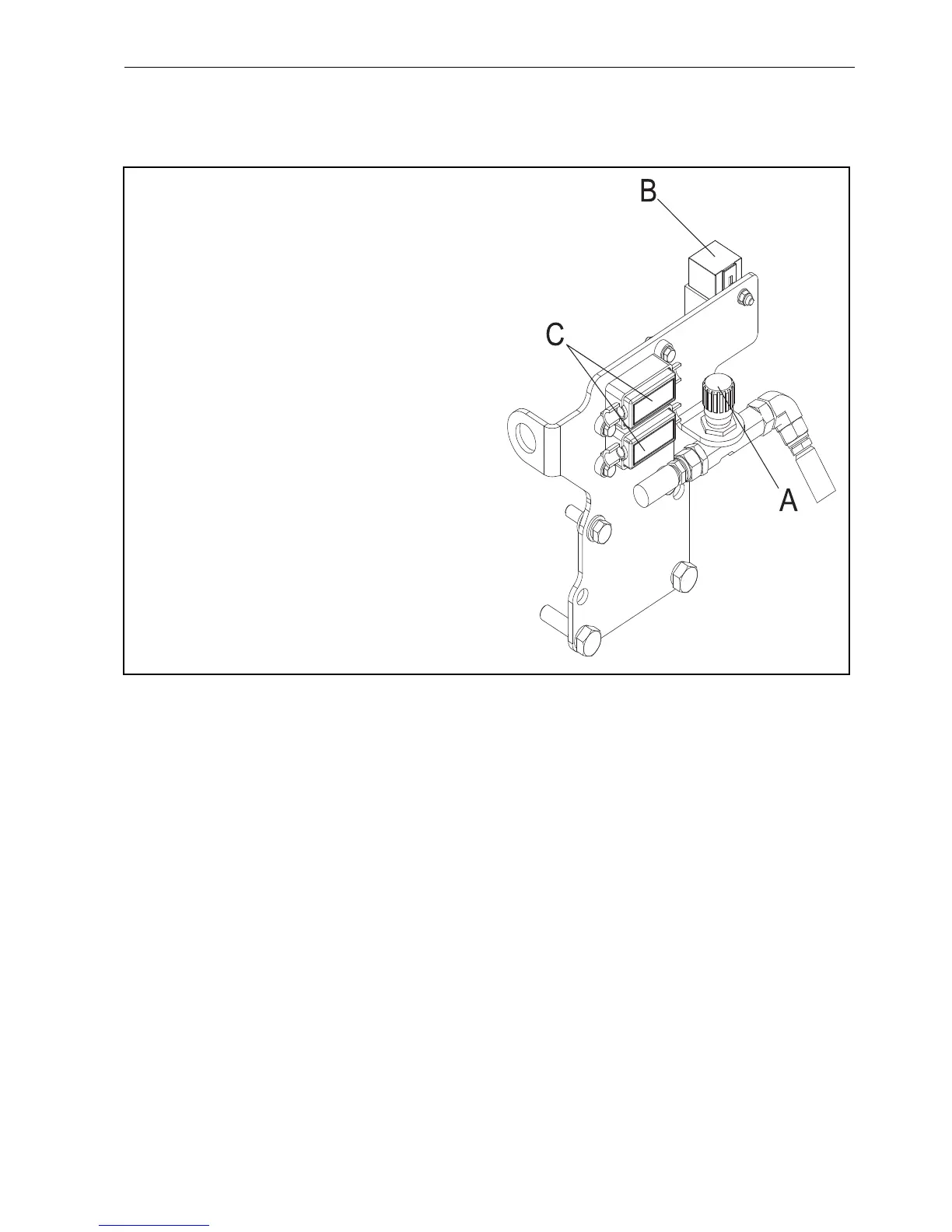
12.4 POJISTKY A RELÉ V ELEKTRICKÉM OBVODU
POJISTKY A RELÉ
V motorovém prostoru
B Relé- žhavicí svíčky
C Pásková pojistka - 40 A
Horní- kabina
Spodní- žhavicí svíčky
SCHÉMATA 12

Table of Contents

Related product manuals