EasyManua.ls Logo

Jacobsen TR3 EJ Series - Page 91

Jacobsen TR3 EJ Series
186 pages
Print Icon
To Next Page IconTo Next Page
To Next Page IconTo Next Page
To Previous Page IconTo Previous Page
To Previous Page IconTo Previous Page
Loading...
en-91
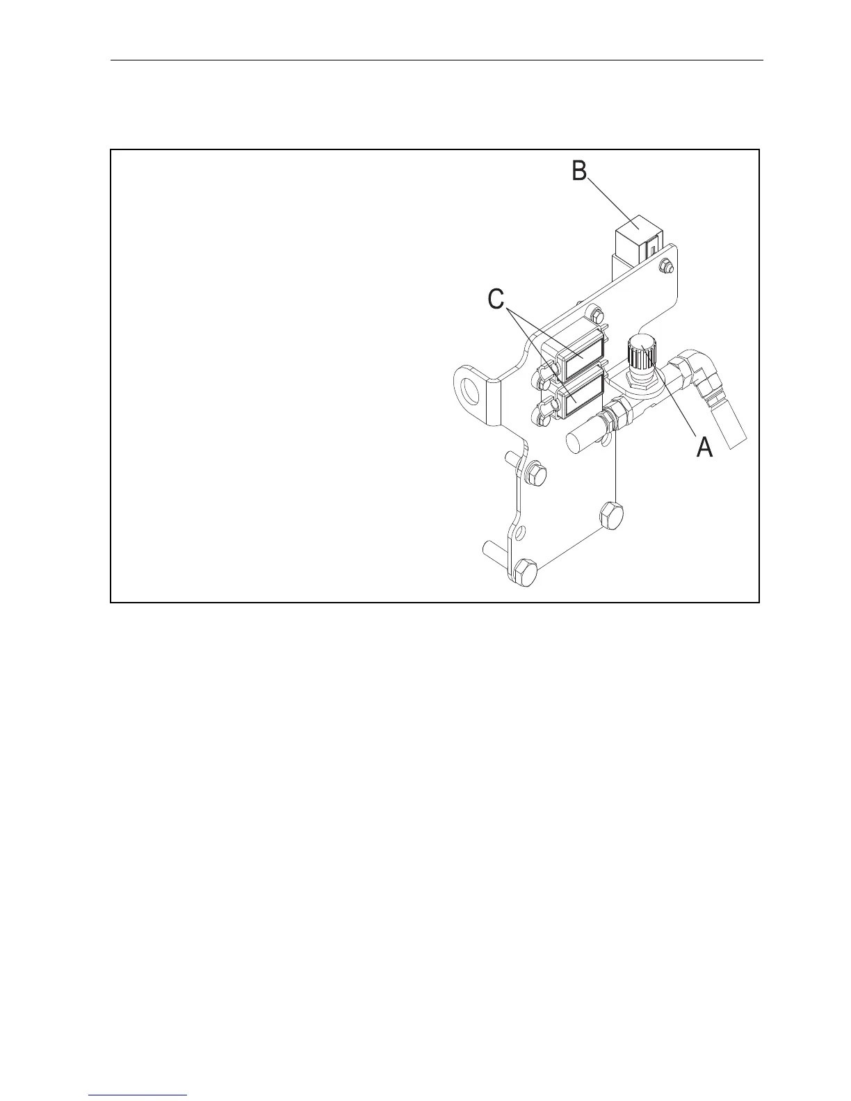
12.4 ELECTRICAL CIRCUIT FUSES AND RELAYS
FUSES & RELAYS
In Engine Compartment
B Relay- Glow Plugs
C Strip Fuse - 40 Amp
Top- Cab
Bottom- Glow Plugs
SCHEMATICS 12

Table of Contents

Related product manuals