EasyManua.ls Logo

JBL CSA 140Z - Page 11

JBL CSA 140Z
24 pages
Print Icon
To Next Page IconTo Next Page
To Next Page IconTo Next Page
To Previous Page IconTo Previous Page
To Previous Page IconTo Previous Page
Loading...
11
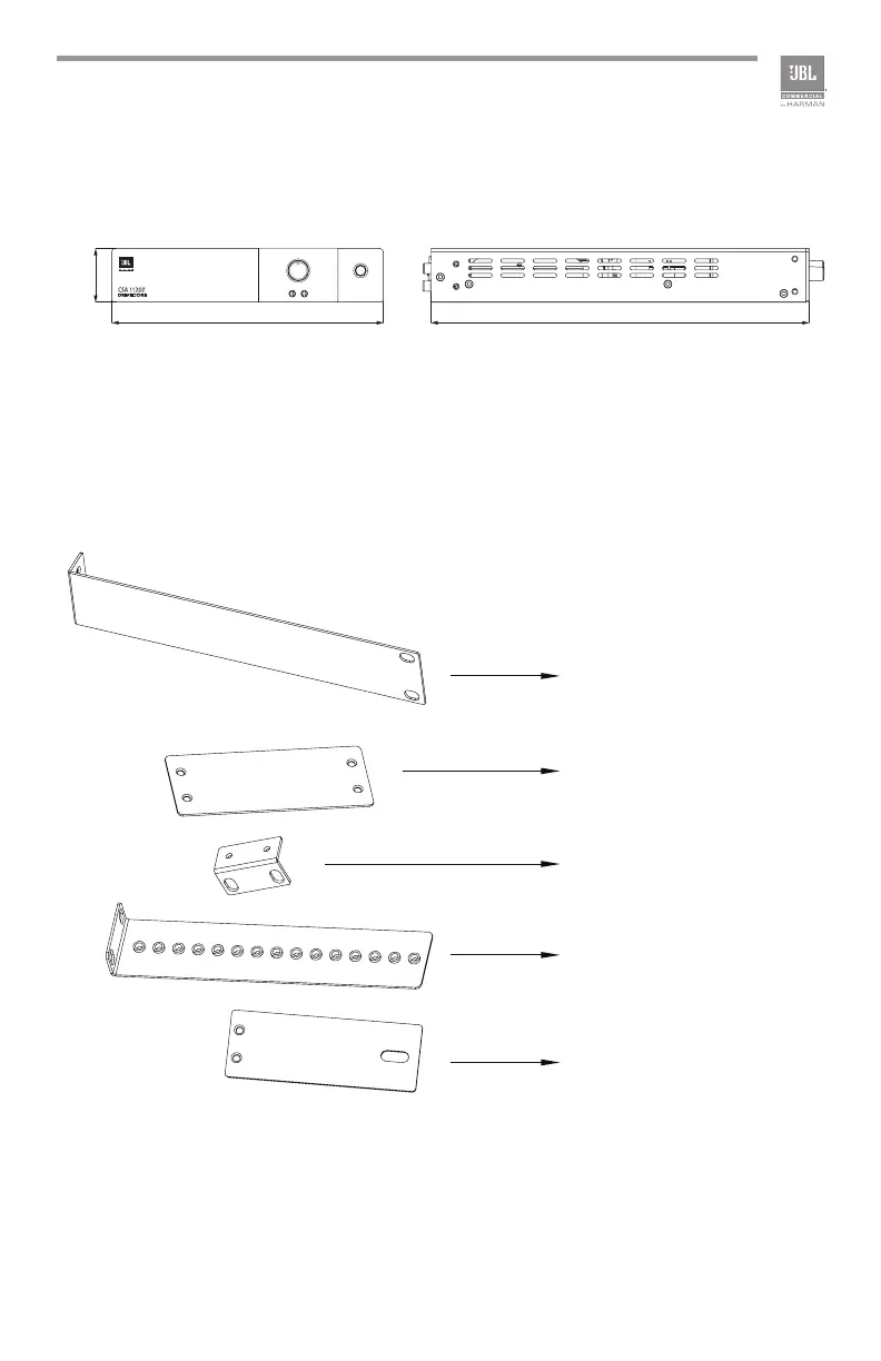
Figure 2.2.1 Dimensions
Figure 2.2.2 Mounting Kit
long angle bracket
flat bracket
front angle bracket
rear angle brackets
rear flat brackets
218.44 mm [8.6 in]
303.4 mm [11.9 in]
43.3 mm
[1.7 in]
CSA 1120
z

Related product manuals