EasyManua.ls Logo

JBL LSR4312SP - Signal Processor Overview

JBL LSR4312SP
61 pages
Print Icon
To Next Page IconTo Next Page
To Next Page IconTo Next Page
To Previous Page IconTo Previous Page
To Previous Page IconTo Previous Page
Loading...
41
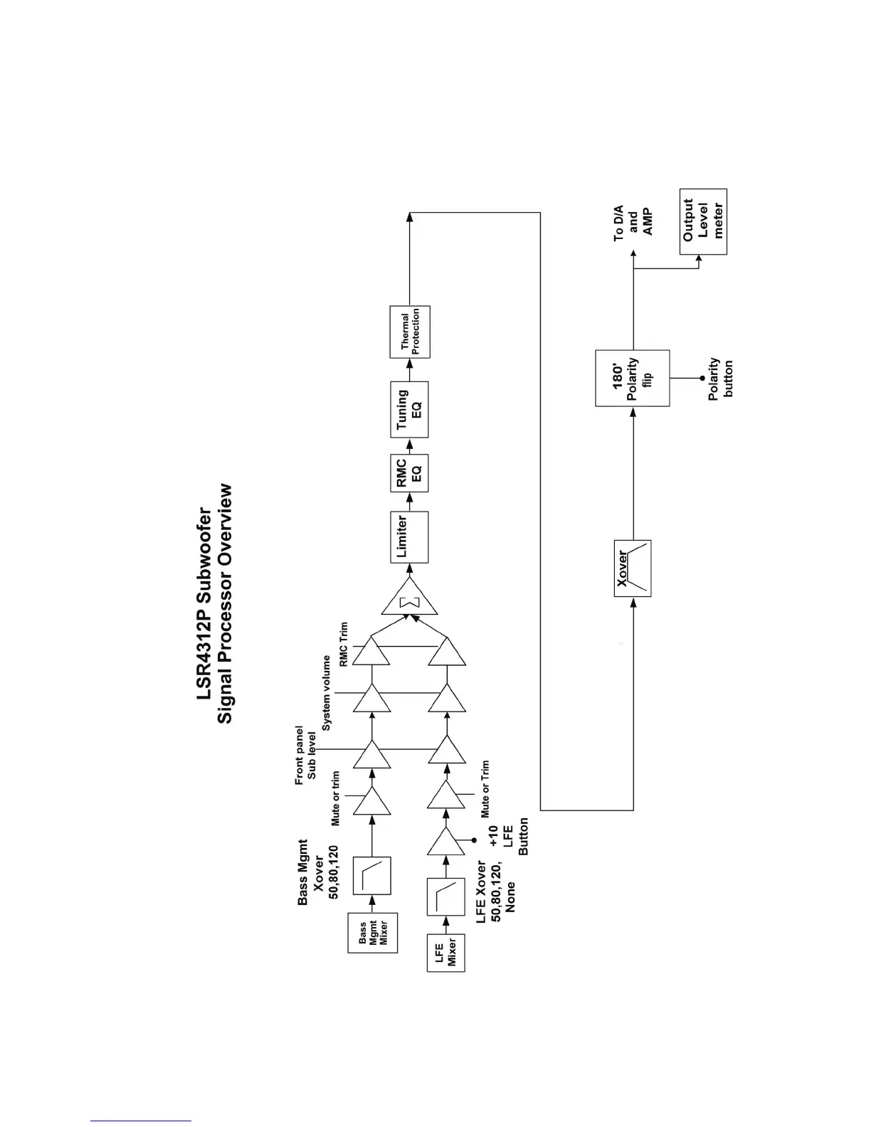
Appendix D: System Block Diagram

Related product manuals