EasyManua.ls Logo

jcb 210SU - Dismantling and Assembly

jcb 210SU
414 pages
Print Icon
To Next Page IconTo Next Page
To Next Page IconTo Next Page
To Previous Page IconTo Previous Page
To Previous Page IconTo Previous Page
Loading...
2 - 4
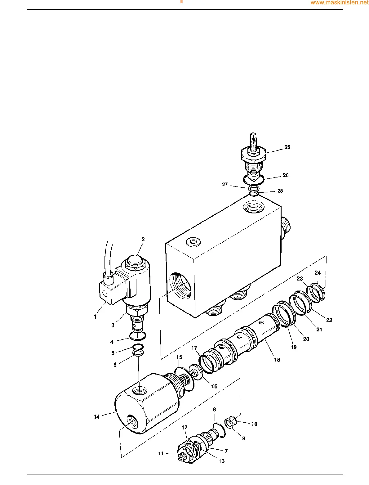
Flow Diverter Valve
Dismantling and Assembly
The numerical sequence shown on the illustration is
intended as a guide to dismantling.
For assembly the sequence should be reversed.
When Assembling
Renew all seals and 'O' rings. Lubricate with JCB Special
Hydraulic Fluid.
Torque Settings
Item Nm kgf m lbf ft
2 5 0.5 3.7
3 45 4.6 33
7 60 6.1 44
14 200 20.4 148
25 100 10.2 74
After assembly make sure that the valve is set for the correct
flow and pressure, refer to page A/2-5 and A/2-6.
Section A Attachments
9803/7130
Section A
2 - 4
Issue 1
Hydraulic Tool Circuit (H.T.C.)
S206980
www.WorkshopManuals.co.uk
Purchased from www.WorkshopManuals.co.uk
www.maskinisten.net

Table of Contents

Related product manuals