EasyManua.ls Logo

jcb JS260 - Lever Lock

jcb JS260
531 pages
Print Icon
To Next Page IconTo Next Page
To Next Page IconTo Next Page
To Previous Page IconTo Previous Page
To Previous Page IconTo Previous Page
Loading...
5 - 21
Section C
Electrics
9803/6400
Section C
5 - 21
Issue 1
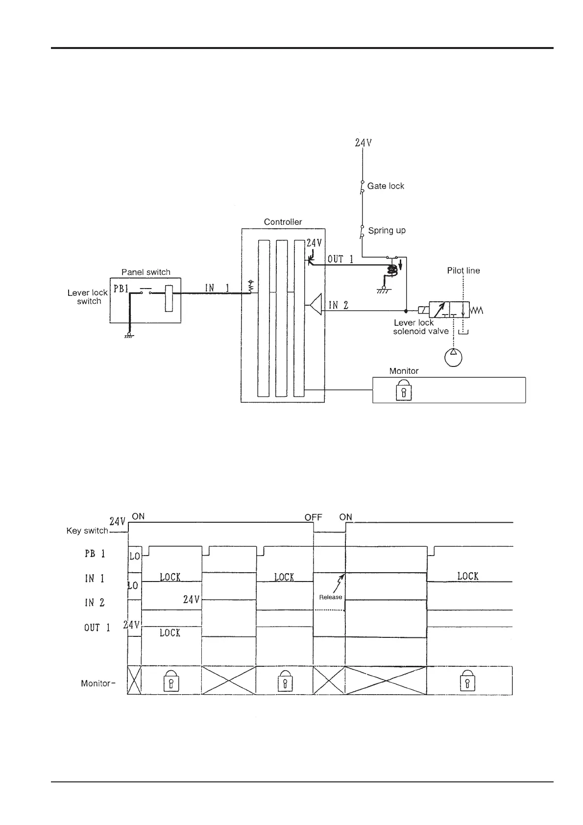
Pump Control
Lever Lock
Circuit Diagram
Time Chart

Table of Contents

Related product manuals