EasyManua.ls Logo

jcb JS260 - Page 281

jcb JS260
531 pages
Print Icon
To Next Page IconTo Next Page
To Next Page IconTo Next Page
To Previous Page IconTo Previous Page
To Previous Page IconTo Previous Page
Loading...
31 - 13
Section E
Hydraulics
9803/6400
Section E
31 - 13
Issue 1
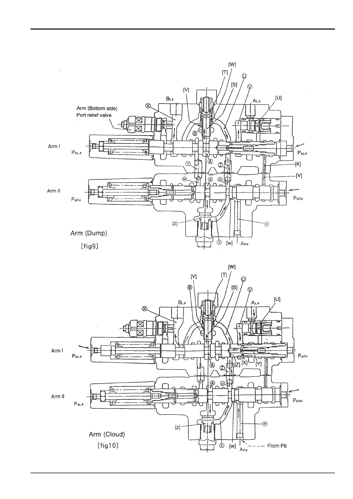
Control Valve JS200/JS240
Operation (continued)

Table of Contents

Related product manuals