EasyManua.ls Logo

Jenn-Air JES9800AAB - Page 31

Jenn-Air JES9800AAB
55 pages
Print Icon
To Next Page IconTo Next Page
To Next Page IconTo Next Page
To Previous Page IconTo Previous Page
To Previous Page IconTo Previous Page
Loading...
©2005 Maytag Services 16025927 A – 7
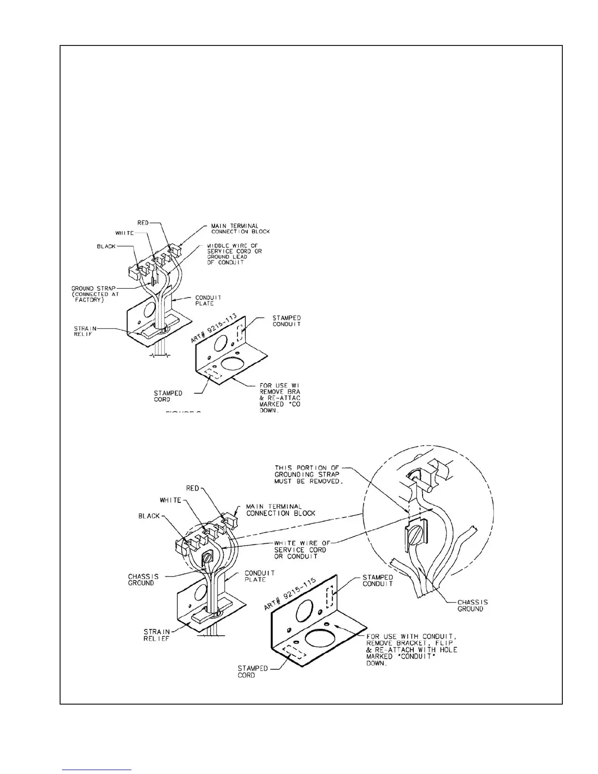
Installation Instructions (Models JES8750AA*, JES8850A**)
3-WIRE SERVICE CORD OR CONDUIT
INSTALLATION
1. Insure that the copper ground strap
IS CONNECTED
between the middle post of the main terminal
connection block and the range chassis.
2. The middle wire of the service cord or ground lead of
3-wire conduit
MUS T
connect to the neutral (middle)
post of the main terminal block. The other two wires of
the service cord or conduit connect to the outside
posts of the main terminal connection block. Polarity is
unimportant.
3. A appropriate strain relief for service cord or conduit
must be attached to the conduit plate.
FIGURE 8
ACCEPTABLE 3-WIRE PLUG INSTALLATION
4-WIRE SERVICE CORD OR CONDUIT
INSTALLATION
(MOBILE HOMES OR AS REQUIRED BY CODES)
1. The copper ground strap connected between the
neutral (middle) post of the main terminal block and the
chassis
MUST
be cut off as shown in figure 9. Save the
green ground screw to attach the ground from the 4
wire cord. Only a 4 wire cord or conduit should be
used.
2. The ground wire from the service cord or conduit must
connect to the range chassis using the green ground
screw.
3. The white wire of the service cord or conduit must
connect to the neutral (middle) post of the main
terminal block. The other two wires of the service cord
or conduit connect to the red and black posts of the
main terminal block, respectively.
4. An appropriate strain relief for service cord or conduit
must be attached to the conduit plate.
CONVERSION FROM 3-WIRE TO 4 -WIRE
SERVICE
(Model With 3-W ire Ser vice Cord Attached)
Disconnect range from power. Remove the access cover
on back of range and remove the 3-wire service cord from
the main terminal block. Follow instructions as outlined in
figure 9 to connect the 4-wire service cord.
NOTE:
Cord replacement -
ONLY
a power supply cord
rated at 240 volts minimum, 40 amperes or 50 amperes
power supply cord that is marked for use with nominal
1 3/8 (34.93 mm) diameter connection opening, with
closed loop terminals and marked for use with ranges
shall be used.
FIGURE 9
ACCEPT ABLE 4- WIR E PLUG INSTALLA TION

Table of Contents

Other manuals for Jenn-Air JES9800AAB

Related product manuals