EasyManua.ls Logo

Jensen A528 - Joint; Assembly

Jensen A528
70 pages
Print Icon
To Next Page IconTo Next Page
To Next Page IconTo Next Page
To Previous Page IconTo Previous Page
To Previous Page IconTo Previous Page
Loading...
Automatic overload regulator
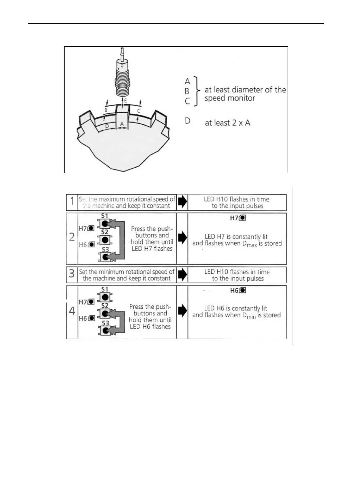
Mounting of the pulse pick-up:
For optimum functioning the following mounting dimensions should be adhered to:
Setting
D
max
must always be greater than D
min
!
Operation
Check the safe functioning of the unit.
If operation is correct no special measures need to be taken nor any measures for
maintenance an upkeep.
For operation and maintenance of the pulse pick-ups the manufacturer’s insructions must
be observed.
E max. 2mm

Table of Contents

Related product manuals