EasyManua.ls Logo

Jensen A528 - Page 56

Jensen A528
70 pages
Print Icon
To Next Page IconTo Next Page
To Next Page IconTo Next Page
To Previous Page IconTo Previous Page
To Previous Page IconTo Previous Page
Loading...
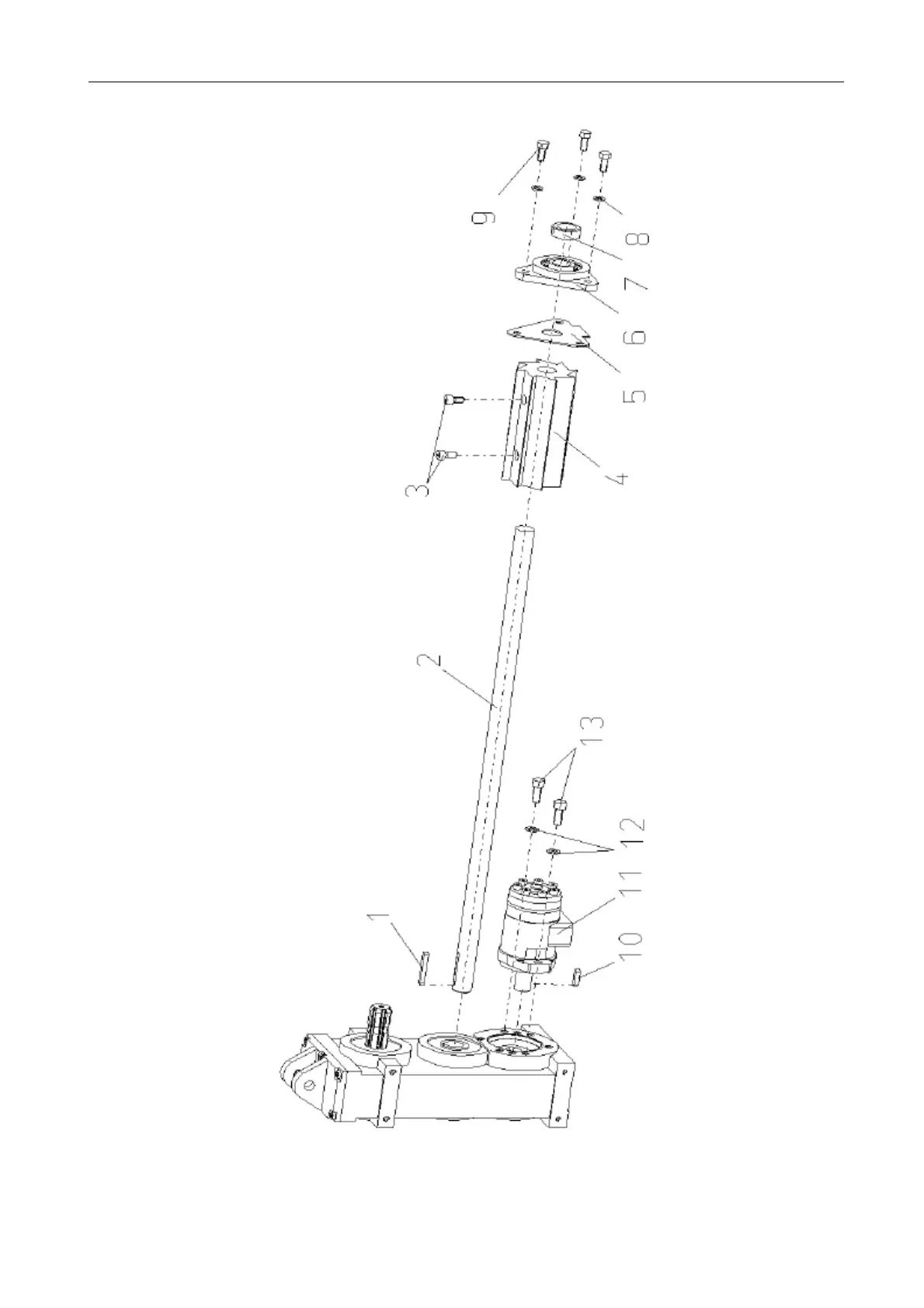
Die mit einem "+" gekennzeichneten Teile sind nicht abgebildet!
Parts marked "+" are not shown in figures!
Les positons précédées du signe "+" ne sont pas représentées!
Untere Walze
Lower roller
Rouleau interieure

Table of Contents

Related product manuals