EasyManua.ls Logo

Jensen VM9214BT - Page 47

Jensen VM9214BT
59 pages
Print Icon
To Next Page IconTo Next Page
To Next Page IconTo Next Page
To Previous Page IconTo Previous Page
To Previous Page IconTo Previous Page
Loading...
43
VM9214BT
To “disconnect” the mobile phone from the head unit, turn the Bluetooth
connectivity off on the mobile phone or touch the button.
Phone Book direct searching through the head unit is only available
if the mobile phone supports Phone Book Download. If the feature is
not supported, the head unit will display “Phone book not provided by this
phone” when an attempt is made to download a phone book.
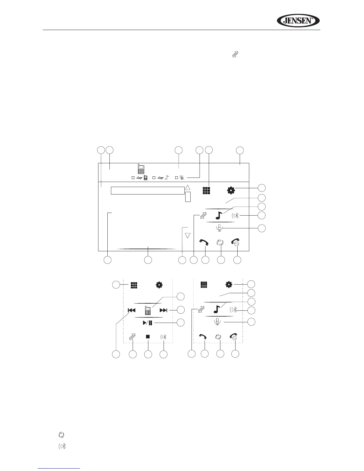
Bluetooth User Interface
The on-screen indicators and touch key areas for Bluetooth operation are
outlined below.
1. Current connection status/device connected
2. Current time
3. Bluetooth menu
4. Current operation status
5. Toggle Music/Phone menu
6. : Transfer active call back to handset
7. : Pair your Bluetooth phone (first time use)
1
4
9
14
2
8
15
Disconnected
1 Missed Calls
2 Received Calls
3 Dialed Calls
4 Phone Book
3
16
13
17
Menu List
19
01:02 PM
E
Q
BT
MENU
7
10
11
5
6
12
PHONE INTERFACE MUSIC INTERFACE
9
8
13
17
MENU
MENU
7
10
11
5
6
12
9
23
7
20
21
22
18

Other manuals for Jensen VM9214BT

Related product manuals