EasyManua.ls Logo

JTS RU-992 - 4 Description of Parts; UHF PLL Dual-Channel Diversity Receiver

JTS RU-992
36 pages
Print Icon
To Next Page IconTo Next Page
To Next Page IconTo Next Page
To Previous Page IconTo Previous Page
To Previous Page IconTo Previous Page
Loading...
7
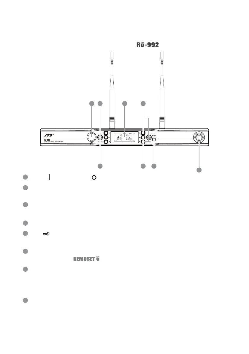
4. Description of parts
4-1 UHF PLL dual-channel diversity receiver //
Front panel
1
4
2
5
3
6
7
8
Power: means “ON and means “OFF”
SET: this is for function settings. Push and hold for 2 seconds to enter the
setting mode. Push “SET repeatedly to search for the function you wish to set.
/In the setting mode, push/to change the function parameter
In the non-setting mode: push/to adjust volume
LCD display
Lock :push and hold “Lock for 2 seconds to lock the buttons in order to
prevent pushing any button by accident.
Remoset U : this allows user to synchronize the transmitter after modifying a
parameter. Push “ ” to synchronize the settings to the transmitter.
Remoset indicator : this shows the current pairing status. It ashes rapidly
when data is being transmitted and the ashing stops when the synchroniza-
tion is completed. However, the ashing slows down if synchronization fails
after a period of time of pairing attempt.
Ultrasonic transmission unit: it transmits digital pairing data at ultrasonic fre-
quency. When setting, direct the ultrasonic receiving unit of the microphone to
the ultrasonic transmitting unit of the receivers. The eective range is 30º on
both sides with the optimized distance at 30cm.
1
2 56
38 7 4

Related product manuals