EasyManua.ls Logo

JUMO ATHs-SE-20 - Setting the Limit Value; Adjusting the Set Point

JUMO ATHs-SE-20
24 pages
Print Icon
To Next Page IconTo Next Page
To Next Page IconTo Next Page
To Previous Page IconTo Previous Page
To Previous Page IconTo Previous Page
Loading...
18
5 Settings
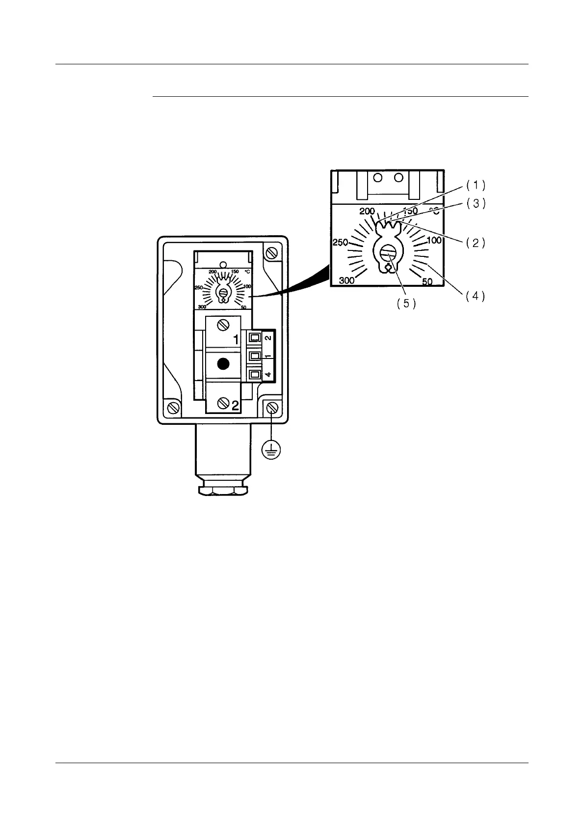
5.1 Setting the limit value
Open the case.
Section 3.2 "Opening the case", page 10.
Set the limit value on the set point setter ( 5 ) using a screwdriver.
( 1 ) Top stop
( 2 ) Bottom stop
( 3 ) Set point indicator
( 4 ) Scale division
( 5 ) Set point setter

Related product manuals