EasyManua.ls Logo

JUMO DICON 501 - 1 Introduction

JUMO DICON 501
100 pages
Print Icon
To Next Page IconTo Next Page
To Next Page IconTo Next Page
To Previous Page IconTo Previous Page
To Previous Page IconTo Previous Page
Loading...
7
1 Introduction
1.1 Description
This series of universal, freely configurable profile controllers/profile genera-
tors is available in the formats 96mm x 96mm and 96mm x 48mm (portrait
and landscape format). The instruments feature two 4-digit 7-segment dis-
plays, five or eight LEDs for indicating the switching status and the operating
modes, an 8-digit matrix display, as well as six keys for operation and configu-
ration.
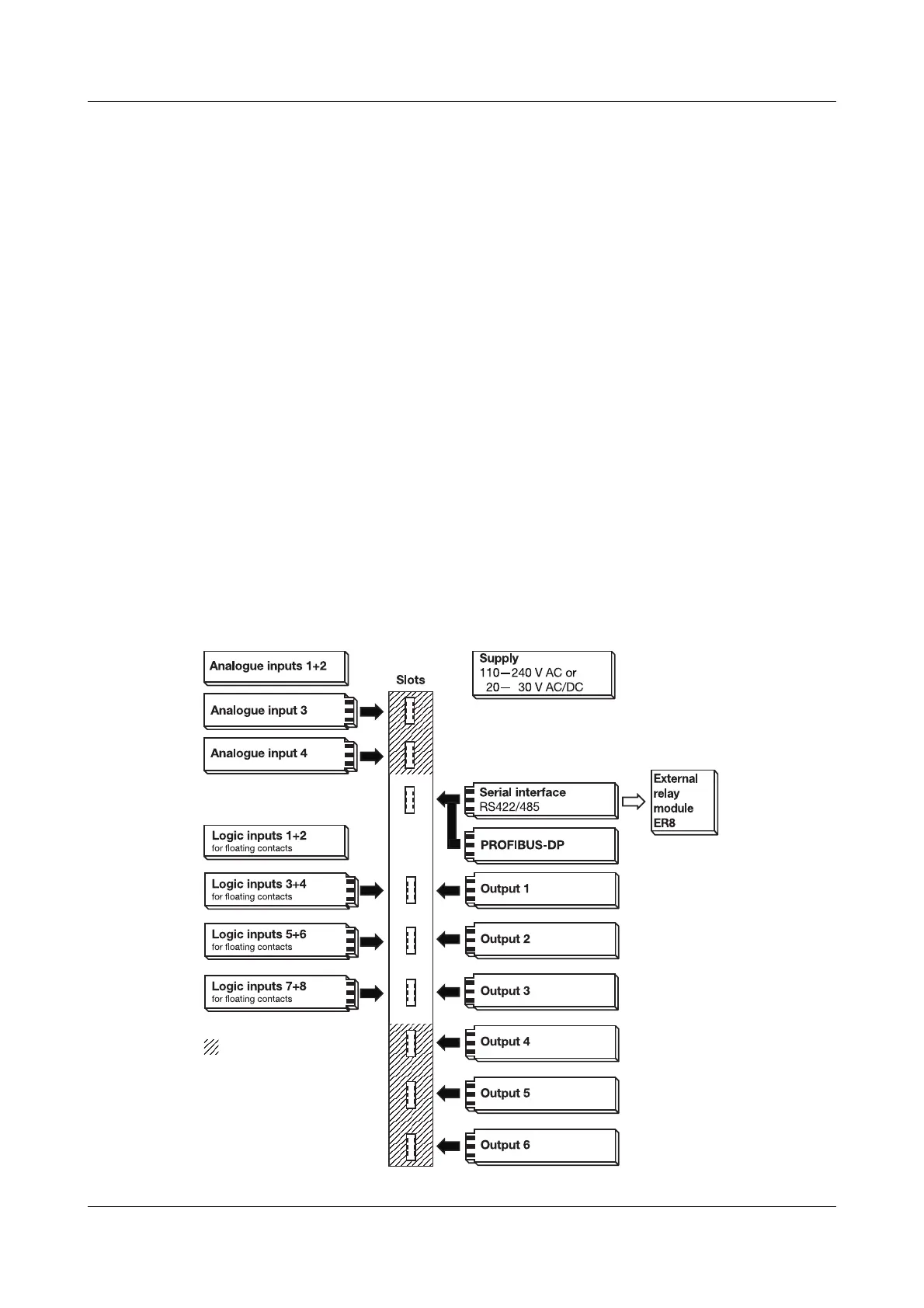
The user has flexibility in assigning the instrument slots, in accordance with
the block structure.
10 profile programs with up to 100 segments can be programmed; a total of
100 segments can be implemented.
Additional functions include self-optimisation, parameter set switching, a real-
time clock, up to eight limit comparators and a maximum of eight operating
contacts. Linearisation for the usual transducers are stored in the memory,
and a customized linearisation table can be programmed. The instruments can
be adapted to the most diverse tasks with the aid of a maths module. The in-
struments can be integrated into a data network via a serial interface, or they
can be expanded through an external relay module. A setup program with a
program editor is available for easy configuration from a PC.
The electrical connection is at the rear by screw terminals.
1.2 Block structure
Type 703580 only
Analogue inputs:
- Resistance thermometer
- Thermocouples
- Standard signals
- Potentiometer
Outputs:
- Relay
- Solid-state relay
- Logic output 5V
- Logic output 22V
- Analogue output
- Supply for
2-wire transmitter

Table of Contents

Other manuals for JUMO DICON 501

Related product manuals