EasyManua.ls Logo

JVC GR-DVL40 - Tape Dubbing

JVC GR-DVL40
64 pages
Print Icon
To Next Page IconTo Next Page
To Next Page IconTo Next Page
To Previous Page IconTo Previous Page
To Previous Page IconTo Previous Page
Loading...
36 EN
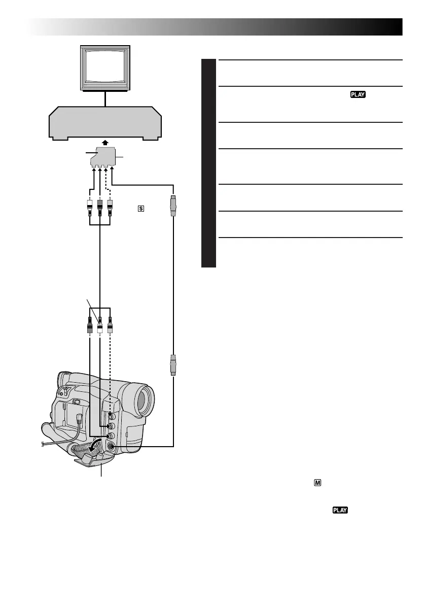
TAPE DUBBING
VCR (Recording deck)
The connectors are
located beneath the cover.
TV
* Connect when the S-Video cable is not used.
Tape Dubbing
1
Following the illustration, connect the camcorder and
the VCR. Also refer to pg. 32 and 33.
2
Set the camcorders Power Switch to “ ”, turn on
the VCR’s power, and insert the appropriate cassettes
in the camcorder and the VCR.
3
Engage the VCR’s AUX and Record-Pause modes.
4
Engage the camcorders Play mode to find a spot just
before the edit-in point. Once it is reached, press
4
/
6 on the camcorder.
5
Press
4
/6 on the camcorder and engage the VCR’s
Record mode.
6
Engage the VCR’s Record-Pause mode and press
4
/6 on the camcorder.
7
Repeat steps 4 through 6 for additional editing, then
stop the VCR and camcorder when finished.
NOTES:
You can use Playback Zoom (
Z
pg. 40) or Playback
Special Effects (
Z
pg. 41) in step 5.
Set the video out select switch of the cable adapter as
required:
Y/C : When connecting to a TV or VCR which accepts
Y/C signals and uses an S-Video cable.
CVBS : When connecting to a TV or VCR which does
not accept Y/C signals and uses an audio/video
cable.
Before you start dubbing, make sure that the indications
do not appear on the connected TV. If they do, they are
being recorded onto the new tape.
To choose whether or not the following displays
appear on the connected TV . . .
Date/Time
.....set “DISPLAY” to “ON” or “OFF” in the Playback
Menu (Z pg. 30).
Time Code
.....set “TIME CODE” to “ON” or “OFF” in the
Playback Menu (Z pg. 30).
Playback Sound Mode Display
.....set the Power Switch to “ ”. Press MENU/
BRIGHT and set “ON SCREEN” in the Date/Time
Menu (Z pg. 18 – 20) to “ON” or “OFF”. Then,
set the Power Switch back to “ ”.
If your VCR has the
SCART connector,
use the provided
cable adapter.
“Y/C”/“CVBS”
video out select
switch
To AUDIO,
VIDEO*
and
-IN
connectors
S-Video cable
(provided)
A/V cable
(provided)
[RCA plug to
RCA plug]
White to Audio
Output L
Yellow to
Video Output*
To
S-Video
Output
Red to Audio
Output R

Related product manuals