EasyManua.ls Logo

JVC KD-R46 - CD; USB; Ipod; ANDROID; Start Playback

JVC KD-R46
26 pages
Print Icon
To Next Page IconTo Next Page
To Next Page IconTo Next Page
To Previous Page IconTo Previous Page
To Previous Page IconTo Previous Page
Loading...
ENGLISH
Data Size: B6L (182 mm x 128 mm)
Book Size: B6L (182 mm x 128 mm)
CD / USB / iPod / ANDROID
To On the faceplate On the remote control
Reverse / Fast-forward
*
3
Press and hold .
Press and hold
.
Select a track/file Press
.
Press
.
Select a folder
*
4
Press . Press .
Repeat play
*
5
Press repeatedly.
TRACK RPT
/
RPT OFF
: Audio CD or JVC Playlist Creator (JPC) /
JVC Music Control (JMC) file
( 19)
TRACK RPT
/
FOLDER RPT
/
RPT OFF
: MP3/WMA/WAV file
ONE RPT
/
ALL RPT
/
RPT OFF
: iPod or ANDROID
Random play
*
5
Press repeatedly.
ALL RND
/
RND OFF
: Audio CD
FOLDERRND
/
ALL RND
/
RND OFF
: MP3/WMA/WAV file or JPC / JMC file
SONG RND
/
ALL RND
/
RND OFF
: iPod or ANDROID
*
1
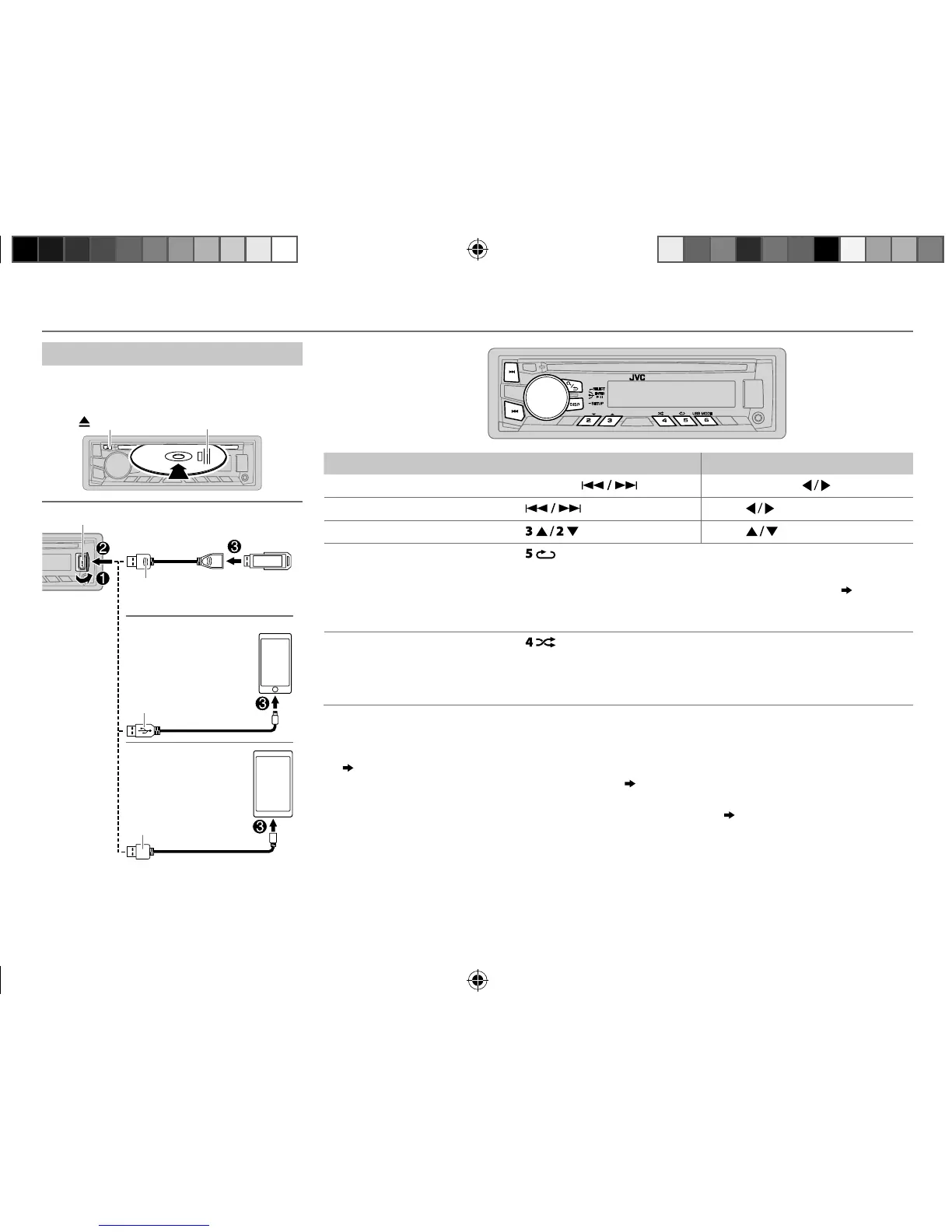
Do not leave the cable inside the car when not using.
*
2
When connecting an Android device, “Press [VIEW] to install JVC MUSIC PLAY APP” is shown. Follow the instructions to install the
application. You can also install the latest version of JVC MUSIC PLAY application on your Android device before connecting.
(
18
)
*
3
For ANDROID: Applicable only when [
AUTO MODE
] is selected.
(
6
)
*
4
For CD: Only for MP3/WMA files. This does not work for iPod/ ANDROID.
*
5
For iPod/ ANDROID: Applicable only when [
HEAD MODE
]/ [
AUTO MODE
] is selected.
(
6
)
Start playback
The source changes automatically and
playback starts.
CD
Eject disc Label side
USB input terminal
USB 2.0 cable
*
1
(commercially available)
Micro USB 2.0 cable
*
1
(commercially available)
(Accessory of the iPod/
iPhone)*
1
USB
iPod/iPhone
(for
KD-AR765S
/
KD-R760
/
KD-R660
)
ANDROID
*
2
JS_JVC_KD_AR765S_J_EN_2.indd 5JS_JVC_KD_AR765S_J_EN_2.indd 5 3/7/2014 9:42:52 AM3/7/2014 9:42:52 AM

Related product manuals