EasyManua.ls Logo

JVC MX-JE31 - Indicating Check for FL Display

JVC MX-JE31
42 pages
Print Icon
To Next Page IconTo Next Page
To Next Page IconTo Next Page
To Previous Page IconTo Previous Page
To Previous Page IconTo Previous Page
Loading...
1-40 (No.MB385)
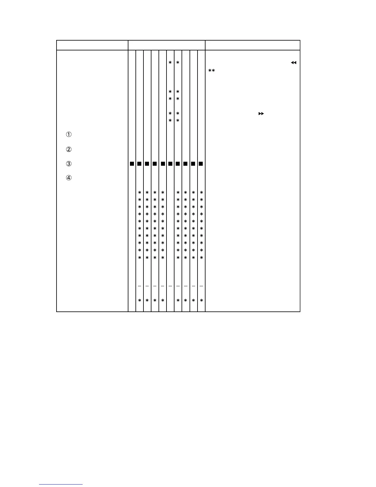
4.5.3 Indicating check for FL display
T
T
T
T
T
a
E
E
E
E
E
a
S
S
S
S
S
a
C
C
C
T
T
T
T
T
1
a
H
H
H
2
E
E
E
3
C
C
C
4
c
K
K
K
#
#
#
#
#
c
@
@
@
@
3
c
0
3
c
Note
By AC cord on with holding SET and
: VERSION
@: FE learning condition
#: REGION
By pressing PAUSE (Front)
By pressing and holding (Front) for 2-sec
By pressing MENU (Remote)
By pressing MENU (Remote)
aaaa: Syscon, cccc: Backend
By pressing MENU (Remote)
By pressing MENU (Remote)
By pressing 1 (Remote)
By pressing 2 (Remote)
By pressing 4 (Remote)
By pressing 5 (Remote)
By pressing 6 (Remote)
By pressing 7 (Remote)
By pressing 8 (Remote)
By pressing 9 (Remote)
By pressing 10 (Remote)
By pressing +10 (Remote)
By pressing 0 (Remote)
By pressing STOP (Front or Remote)
By pressing OPEN/CLOSE (Front)
By pressing PLAY (Front or Remote)
Laser & Jitter
DVD TEST MODE
TEST START
(Version info)
A. EEPROM INITIALIZE
(NORMAL)
B. EEPROM INITIALIZE
(FULL)
DEVICE KEY DISPLAY
VERSION DISPLAY
FL ALL ON
CHECK MODE
START PLAY
WOBBLE
CD LASER current
DVD LASER current
DVD-SL jitter
EEPROM (BWD)
EEPROM (FWD)
Temperature
DVD-DL/SL jitter
EEPROM initialize
Monitor change
STOP
OPEN/CLOSE
PLAY
FL displayFunction

Table of Contents

Related product manuals