EasyManua.ls Logo

JVC NX-F3 - Selecting a Chapter;Track from the Menu Screen

JVC NX-F3
68 pages
Print Icon
To Next Page IconTo Next Page
To Next Page IconTo Next Page
To Previous Page IconTo Previous Page
To Previous Page IconTo Previous Page
Loading...
Basic operations of disc/file playback
28
When a disc is stopped or played back
1 Press [TOP MENU/PG] or [MENU/
PL].
The menu screen is displayed.
Pressing [TOP MENU/PG] may not work
depending on the disc type. In this case,
press [MENU/PL].
2 Press 5, /, 2 or 3 (cursor) to
select the selection menu for
chapters or tracks.
3 Press [ENTER].
4 Press 5, /, 2 or 3 (cursor) to
select the desired chapter or track.
5 Press [ENTER].
NOTE
You can use this function only when a menu
screen is recorded on the disc.
Depending on a disc, you may proceed to step 4
when you finish step 1.
Playback may start for some discs without
pressing [ENTER] in step 5.
When a disc is played back with the PBC
function activated
1 Press [RETURN] once or more.
2 Press the number buttons to
select the desired track.
NOTE
For a VCD/SVCD whose menu screen has a
couple of pages, you can change the page by
pressing 4 or ¢ in step 2.
When a disc is stopped or played back
1 Press [TOP MENU/PG] to display
the original program or press
[MENU/PL] to display the play list.
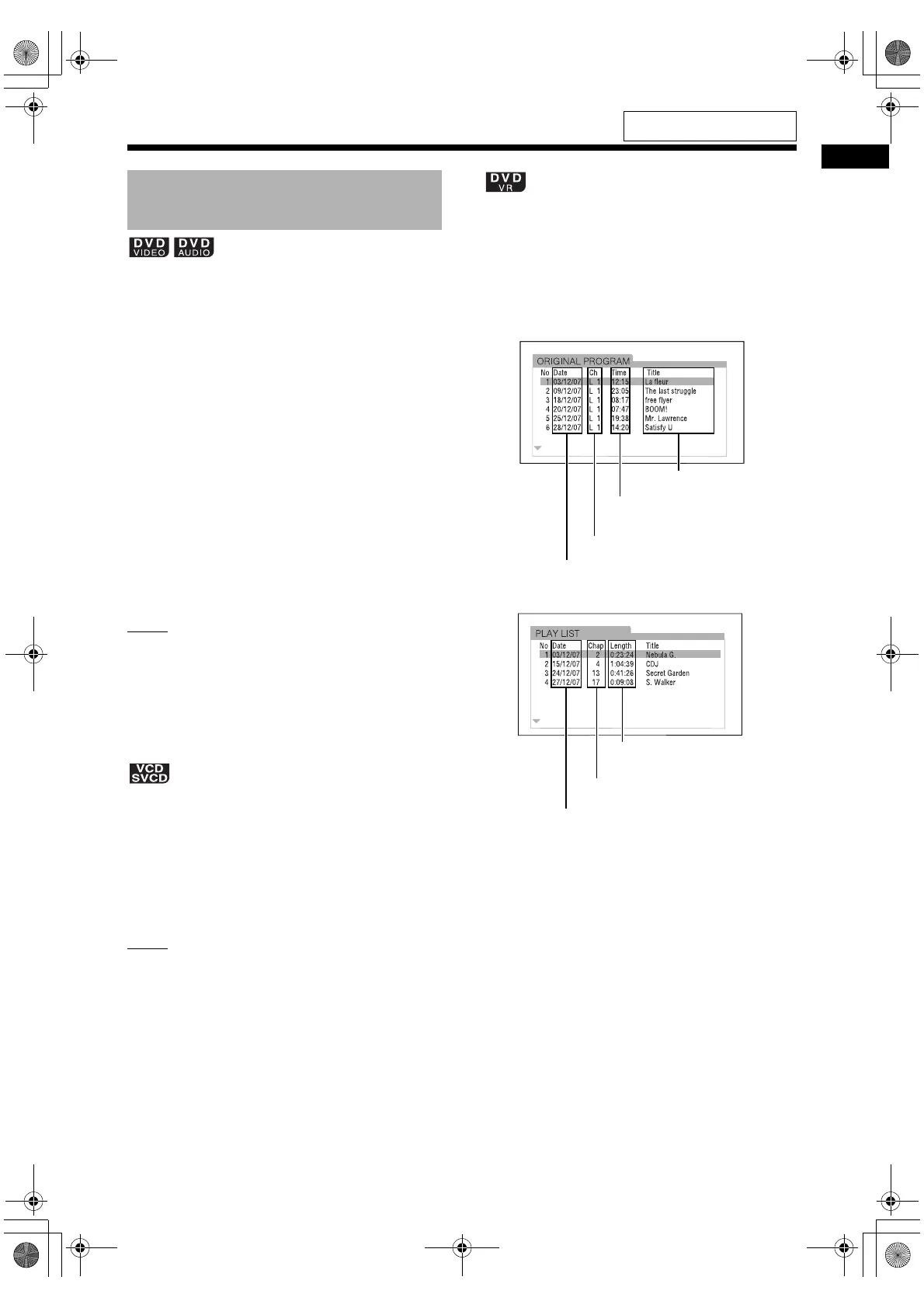
Original program
Play list
The play list does not appear when a play
list has not been recorded to the disc.
2 Press 5 or / (cursor) to select the
desired title.
3 Press [ENTER].
When you have selected the original pro-
gram by pressing [TOP MENU/PG] in step
1, playback starts from the selected title.
When you have selected the play list by
pressing [MENU/PL] in step 1, only the
selected title is played back.
Selecting a chapter/track
from the menu screen
Title name
Starting time for the title
recording
Channel information
Recording date
Total playback time for
the title
Number of chapters
included in the title
Recording date
For the locations of the remote
control buttons, refer to page 19.
NX-F3_NX-F7[A]EN.book Page 28 Tuesday, April 22, 2008 1:55 PM

Table of Contents

Related product manuals