EasyManua.ls Logo

JVC RX-8010RBK

JVC RX-8010RBK
141 pages
To Next Page IconTo Next Page
To Next Page IconTo Next Page
To Previous Page IconTo Previous Page
To Previous Page IconTo Previous Page
Loading...
41
Adjusting the Equalization Pattern
(Also see page 15)
1. Press MENU.
The MENU appears on the TV.
Pressing one of the 5 / / 2 / 3 buttons also displays the
MENU.
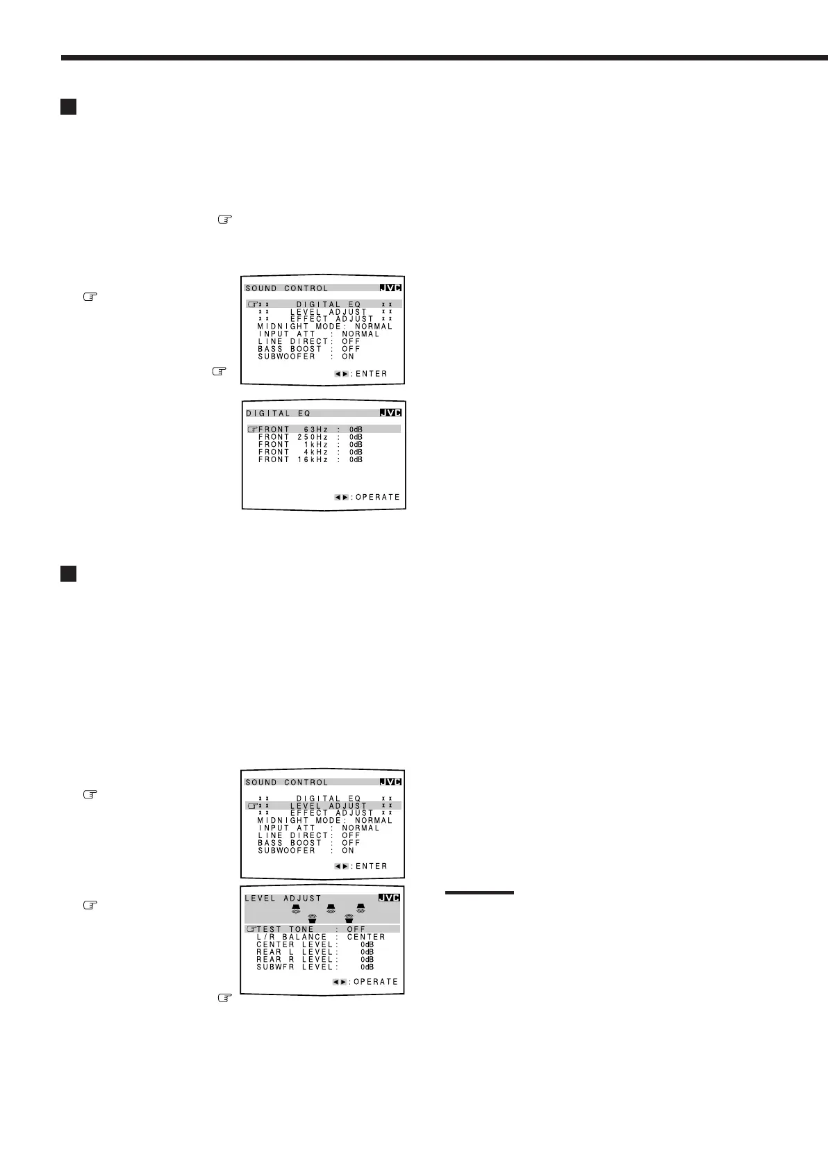
2. Press 5 / to move to “SOUND
CONTROL,” then press 2 / 3.
The SOUND CONTROL menu appears.
3. Press 5 / to move
to “DIGITAL EQ,
then press 2 / 3.
The DIGITAL EQ menu
appears.
4. Press 5 / to move
to the frequency you
want to adjust.
5. Press 2 / 3 to adjust
the frequency level you
want.
The frequency level changes
by 2 dB from –8 dB to +8 dB.
6. When you finish, press EXIT repeatedly until the
menu disappears from the TV.
Adjusting the Surround and DSP Modes
(Also see pages 31 – 38)
You can use a Surround mode with a DAP mode, but not with the
5 CH/4 CH Stereo mode and 3D-PHONIC mode.
1. Press MENU.
The MENU appears on the TV.
Pressing one of the 5 / / 2 / 3 buttons also displays the
MENU.
2. Select Surround mode and/or DSP mode you like
to adjust (see page 40).
3. Press 5 / to move
to “SOUND
CONTROL,” then
press 2 / 3.
The SOUND CONTROL
menu appears.
4. Press 5 / to move
to “LEVEL
ADJUST,” then press
2 / 3.
The LEVEL ADJUST menu
appears.
5. Press 5 / to move
to the item you want to
set or adjust, then press 2 / 3.
On these adjustment menus, you can do the followings:
For Surround mode, Surround mode with DAP
mode:
“TEST TONE”: Output a test tone.
“L/R BALANCE”: Adjust the right and left balance
of the front speakers.
“CENTER LEVEL”: Adjust the center speaker output
level. *
“REAR L LEVEL”: Adjust the left rear speaker output
level. **
“REAR R LEVEL”: Adjust the right rear speaker
output level. **
“SUBWFR LEVEL”: Adjust the subwoofer output
level. ***
For DAP mode:
“L/R BALANCE”: Adjust the right and left balance
of the front speakers.
“CENTER LEVEL”: Adjust the center speaker output
level. *
“REAR L LEVEL”: Adjust the left rear speaker output
level. **
“REAR R LEVEL”: Adjust the right rear speaker
output level. **
“SUBWFR LEVEL”: Adjust the subwoofer output
level. ***
For 5 CH/4 CH Stereo mode:
“L/R BALANCE”: Adjust the right and left balance
of the front speakers.
“CENTER LEVEL”: Adjust the center speaker output
level. ****
“REAR L LEVEL”: Adjust the left rear speaker output
level. **
“REAR R LEVEL”: Adjust the right rear speaker
output level. **
“SUBWFR LEVEL”: Adjust the subwoofer output
level. ***
For 3D-PHONIC mode:
“L/R BALANCE”: Adjust the right and left balance
of the front speakers.
“CENTER LEVEL”: Adjust the center speaker output
level. *
“SUBWFR LEVEL”: Adjust the subwoofer output
level. ***
For Surround off and DSP OFF:
“L/R BALANCE”: Adjust the right and left balance
of the front speakers.
“SUBWFR LEVEL”: Adjust the subwoofer output
level. ***
Notes:
*
You cannot select “CENTER LEVEL” when “CTR SPK” is set
to “NONE” (see page 17).
**
You cannot select “REAR L LEVEL” and “REAR R LEVEL
when “REAR SPK” is set to “NONE” (see page 17).
***
You cannot select “SUBWFR LEVEL” when “SUBWOOFER”
is set to “NO” (see page 17).
****
You cannot select “CENTER LEVEL” when 4 CH Stereo
mode is selected.
6. Press EXIT once.
EN40_50.RX-8010&8012R_f 01.3.19, 1:58 PM41

Table of Contents

Other manuals for JVC RX-8010RBK

Related product manuals