EasyManua.ls Logo

JVC TH-C90 - Page 73

JVC TH-C90
138 pages
Print Icon
To Next Page IconTo Next Page
To Next Page IconTo Next Page
To Previous Page IconTo Previous Page
To Previous Page IconTo Previous Page
Loading...
20
7 On-screen guide icons
During DVD VIDEO playback, the following guide icons may
appear for a while on the TV screen;
: appears at the beginning of a scene containing multi-subtitle
languages.
: appears at the beginning of a scene containing multi-audio
languages.
: appears at the beginning of a scene containing multi-angle
views.
(Play), (Pause), / (Fast forward/
fast-reverse), / (Slow-motion forward/
reverse): appears when you perform each operation.
: the disc cannot accept an operation you have tried to do.
NOTE
If you do not want the on-screen guide icons to appear, see page 37.
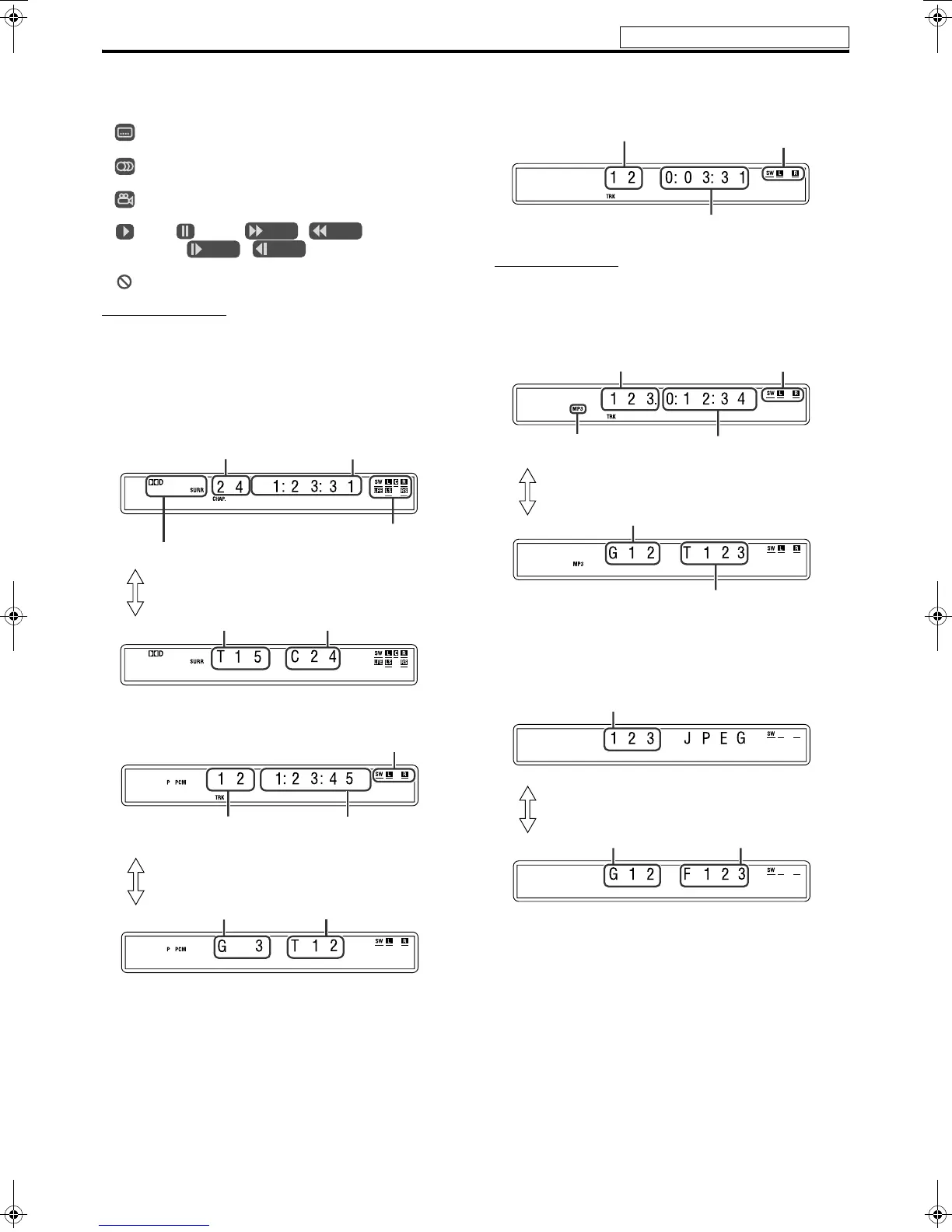
7 Playback information on the display window
DVD VIDEO
Example: When a DVD VIDEO encoded with Dolby Digital 5.1 ch
is played
DVD AUDIO
VCD/SVCD/CD
Example: When a CD is played back
NOTE
When a VCD or SVCD with PBC function is played, the elapsed
playing time does not appear, but “PBC” appears.
MP3/WMA file
Example: When an MP3 file is played back
JPEG file
Example: When slide-show is played back
Signal and speaker indicators (See page 25.)
Chapter number
Elapsed playing time
(hour:minute:second)
Surround mode and digital signal format (See page 25.)
Title number
Pressing FL DISPLAY
Chapter number
Track number Elapsed playing time
(hour:minute:second)
Group number
Signal and speaker indicators
Pressing FL DISPLAY
Track number
Track number
Elapsed playing time (hour:minute:second)
Signal and speaker
indicators
Track number
Elapsed playing time (hour:minute:second)
(during playback only)
Group number
Track number
Pressing FL DISPLAY
Signal and speaker
indicators
MP3 indicator*
* WMA indicator lights for a WMA file.
Group number File number
Pressing FL DISPLAY
File number
Continued on the next page
Playback
See page 19 for button locations.
TH-C90[A].book Page 20 Monday, August 7, 2006 11:44 AM

Table of Contents

Related product manuals