EasyManua.ls Logo

Kantech KT-300 - Input and Output Connections; Hooking Up Inputs; Readers and Keypads; Relay Controlled Outputs

Kantech KT-300
28 pages
Print Icon
To Next Page IconTo Next Page
To Next Page IconTo Next Page
To Previous Page IconTo Previous Page
To Previous Page IconTo Previous Page
Loading...
DN1315-1007
8
KT-300 Door Controller Installation Manual
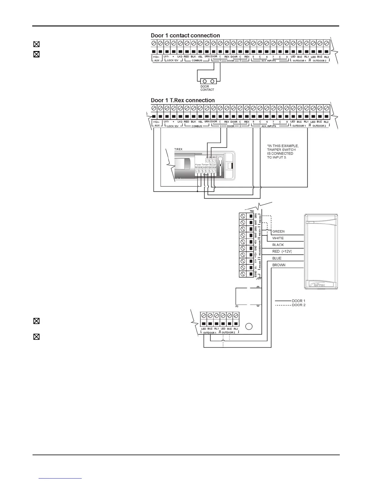
Hooking Up Inputs
Connect devices to inputs 1 to 8.
Resistors (included with KT-300) for
all inputs 5.6K ohm (if selected).
The KT-300 has an on-board capability of
monitoring 8 input points (expandable to 16 if
KT-PC4108 module is used). Each input is
supervised with or without end-of-line
resistors (5.6K ohm). The maximum distance
of one line is 600m (2,000 feet) with
AWG#22.
NOTE: Inputs can be defined with: none or
one EOL (End-Of-Line) resistor
according to your EntraPass software
settings.
Inputs 1-2 are automatically reserved for the
first controlled door. The contact is assigned
input 1 and the associated request-to-exit
detector as input 2. Inputs 3 and 4 are
automatically reserved for the second
controlled door. The contact is assigned input
3 and the associated request-to-exit detector
as input 4. There is no obligation to follow
these rules but this standard convention
facilitates servicing.
Readers and Keypads
READER CONNECTION TERMINAL WARNING
Connection the red wire lead (or power lead) of a 5 VDC reader
to the 12 VDC terminal may damage the reader. See your reader
installation procedure for proper power connection.
Up to 2 readers can be connected to a KT-300. They can be
installed on one door to control both entry and exit or on two
separate doors operating independently to control one-way
access.
The distance between the readers and the KT-300 controller
varies by reader type (please consult the installation manual for
details). Auxiliary outputs provide visual and/or audible access
operation feedback at the controlled door. Outputs “OUT DOOR
1 LED & BUZ” are used for the first door and “OUT DOOR 2
LED & BUZ” are used for the second door.
The 12 VDC auxiliary power can also be used to power low
current audible devices usually located at the controlled door.
Relay Controlled Outputs
Connect controlled outputs to low voltage devices (25
mA max).
Add external relays for high voltage devices (optional
- Kantech # KT-RM1).
The KT-300 provides two controlled outputs - RL1 & RL2 (open
collector to ground-current limited to 25 mA). Use a KT-RM1 (optional) to switch larger currents or voltages or to supply a dry
contact.
When activated, relay 1 and 2 (RL1 and RL2 LED) outputs provide visual feedback of their active status, as shown in Figure X.
Can be expanded up to 16 controlled outputs when using a KT-PC4216 module. This module allows a maximum of 16 outputs
and a maximum of up to 50 mA per output. Since the KT-300 only supports 500 mA, a power supply module can be used to
provide an additional 1 A to the Combus.
NOTE: If you are using a KT-PC4204 in “repower” mode and other KT-PC4216 modules that are assigned as relays 1-16 also
connected to the same loop, do not use relay 1 of those modules or relay 1 of the KT-300 Door Controller (see the
Combus Repower section for more information).

Table of Contents

Related product manuals